授权公布号:CN209489469U
一种莲子烘烤装置
有效
申请
2018-03-19
申请公布
1970-01-01
授权
2019-10-15
预估到期
2028-03-19
| 申请号 | CN201820370949.4 |
| 申请日 | 2018-03-19 |
| 授权公布号 | CN209489469U |
| 授权公告日 | 2019-10-15 |
| 分类号 | A23N12/08;A23N12/12 |
| 分类 | 其他类不包含的食品或食料;及其处理; |
| 申请人名称 | 湘潭弘茂湘莲产业发展有限责任公司 |
| 申请人地址 | 湖南省湘潭市湘潭县天易生态工业园荷花中路88号 |
专利法律状态
2019-10-15
授权
状态信息
授权
摘要
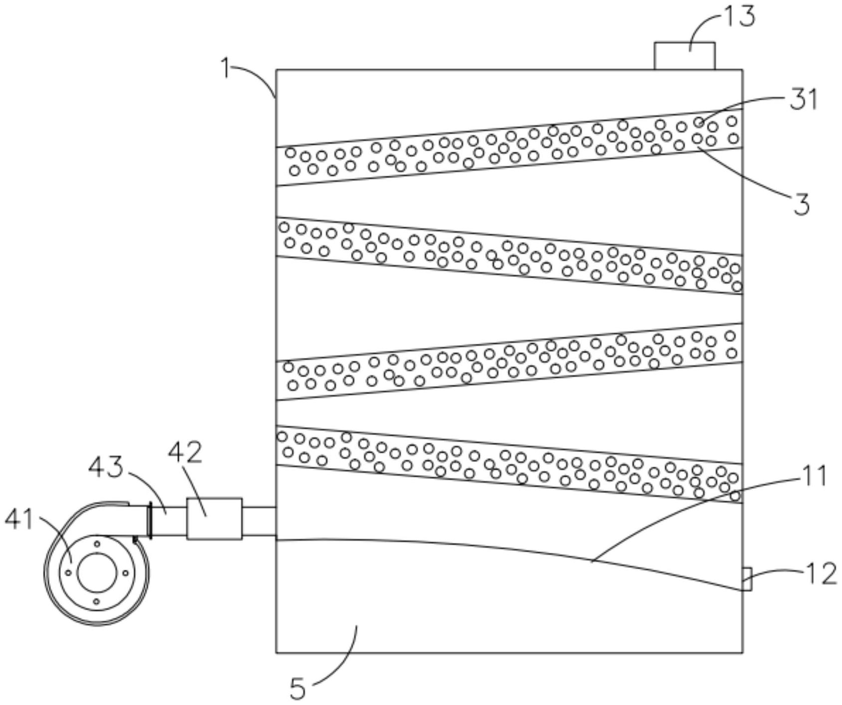
本实用新型公开一种莲子烘烤装置,包括第一封门、第二封门、烘烤箱体、电加热装置和蒸发管,所述电加热装置与所述烘烤箱体连接,所述蒸发管为空心管柱且倾斜设置在所述烘烤箱体中,所述蒸发管的侧壁上具有若干蒸发孔,所述蒸发管的两端穿透所述烘烤箱体的侧壁,所述第一封门包括依次连接的第一把手、第一密封块和连接管,所述连接管插入所述蒸发管的上端中。与现有技术相比,本实用新型提供一种莲子烘烤装置,其通过电加热装置对烘烤箱体进行加热,加热速度快;同时,加热箱体中设置蒸发管,蒸发管上面设置有蒸发孔,能够很好地提升蒸发效率,从而从整体上提升了莲子的烘烤速度;另外,本实用新型采用的是电加热的方式,清洁卫生。


