授权公布号:CN218977889U
一种糕点生产用压花机
有效
申请
2022-12-29
申请公布
1970-01-01
授权
2023-05-09
预估到期
2032-12-29
| 申请号 | CN202223544043.5 |
| 申请日 | 2022-12-29 |
| 授权公布号 | CN218977889U |
| 授权公告日 | 2023-05-09 |
| 分类号 | A21C11/08;A23P30/10 |
| 分类 | 焙烤;制作或处理面团的设备;焙烤用面团〔1,8〕; |
| 申请人名称 | 湘潭弘茂湘莲产业发展有限责任公司 |
| 申请人地址 | 湖南省湘潭市湘潭县天易生态工业园荷花中路88号 |
专利法律状态
2023-05-09
授权
状态信息
授权
摘要
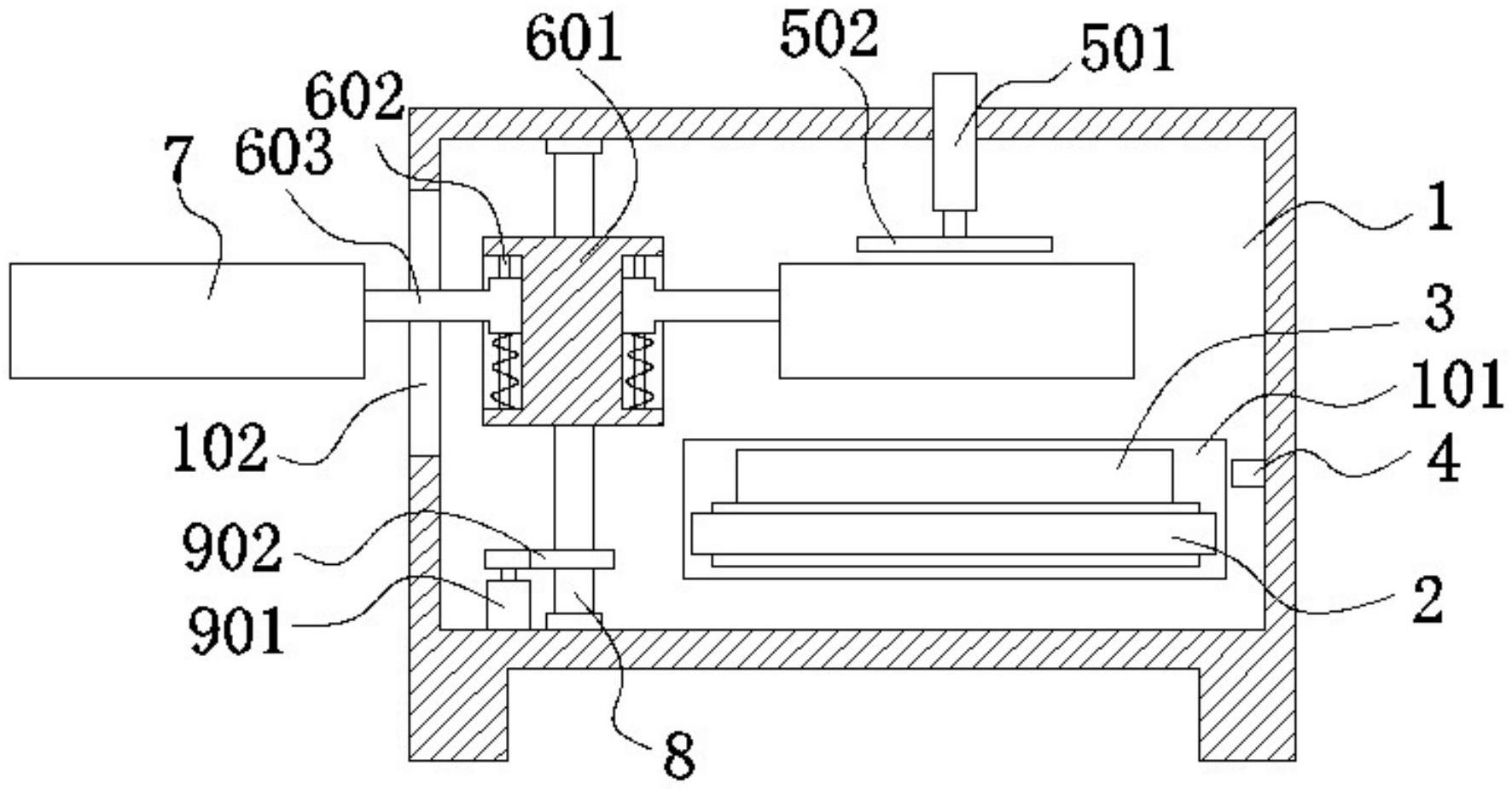
本实用新型公开了一种糕点生产用压花机,包括:箱体;旋转杆,竖立在所述箱体内旋转;块体,固定在所述旋转杆上,所述块体内开设有多组竖向的滑槽;至少两个压模,通过所述滑槽在所述块体上垂直滑动;伸缩件,安装在所述箱体顶部;驱动件,设置在所述箱体内,所述驱动件带动所述旋转杆进行旋转。所述滑槽内竖向固定有滑竿,所述滑竿上套设有弹簧。所述压模与所述块体之间还设置有支架,所述支架一端与所述压模固定,另一端滑动套设在所述滑竿上。所述箱体侧壁上还固定有感应器。通过设计旋转杆和多个压模,从而压模跟着旋转杆进行旋转,当需要更换其他花纹的压模时候,只需转动旋转杆即可对花纹进行调换,无需再进行停机更换。


