授权公布号:CN213369828U
一种具有干燥功能的果脯加工用水果清洗装置
有效
申请
2020-08-12
申请公布
1970-01-01
授权
2021-06-08
预估到期
2030-08-12
| 申请号 | CN202021663935.5 |
| 申请日 | 2020-08-12 |
| 授权公布号 | CN213369828U |
| 授权公告日 | 2021-06-08 |
| 分类号 | A23N12/06 |
| 分类 | 其他类不包含的食品或食料;及其处理; |
| 申请人名称 | 河南省新郑市红枣食品有限公司 |
| 申请人地址 | 河南省郑州市新郑市孟庄镇新孟路与107连接线交叉口北600米路西 |
专利法律状态
2021-06-08
授权
状态信息
授权
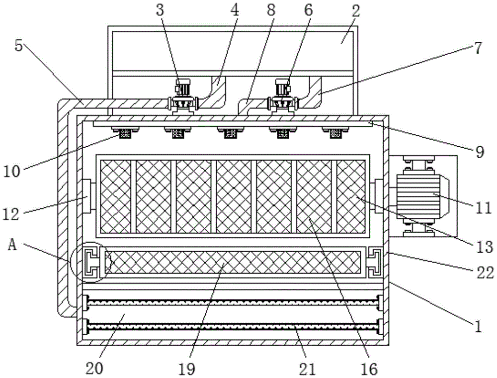
摘要
本实用新型公开了一种具有干燥功能的果脯加工用水果清洗装置,包括箱体,所述箱体的外侧上方设置有蓄水箱,且蓄水箱的内侧下方设置有第一加压水泵,所述第一加压水泵的一侧设置有第一出水管,且第一加压水泵的另一侧设置有第一进水管,所述蓄水箱的内侧下方设置有第二加压水泵,且第二加压水泵的一侧设置有第二进水管,所述第二加压水泵的另一侧设置有第二出水管,所述箱体的内侧顶端设置有安装架,且安装架的外侧下方均设置有喷头。该具有干燥功能的果脯加工用水果清洗装置,通过电加热板,可以对清洗完成后的,进行高温烘干减少了加工步骤,从而提高了该装置的工作效率,同时也提高了该装置的实用性。


