授权公布号:CN209771867U
一种枸杞奶片加工装置
有效
申请
2018-02-23
申请公布
1970-01-01
授权
2019-12-13
预估到期
2028-02-23
| 申请号 | CN201820263401.X |
| 申请日 | 2018-02-23 |
| 授权公布号 | CN209771867U |
| 授权公告日 | 2019-12-13 |
| 分类号 | B01F7/00;B01F15/06;B01F15/00;A23C9/18 |
| 分类 | 一般的物理或化学的方法或装置; |
| 申请人名称 | 青海三江雪生物科技集团有限公司 |
| 申请人地址 | 青海省西宁市经济开发区昆仑东路21号 |
专利法律状态
2019-12-13
授权
状态信息
授权
摘要
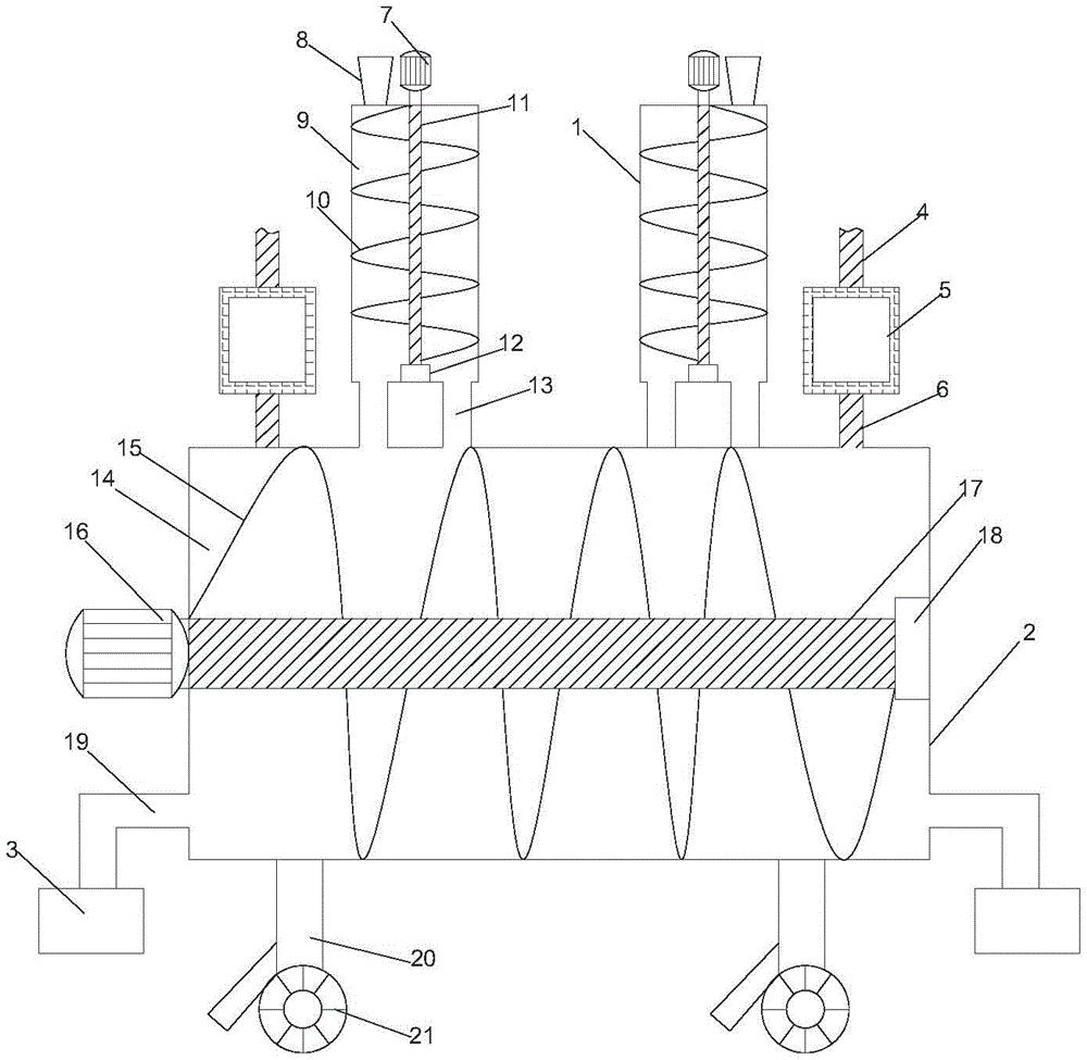
本实用新型公开了一种枸杞奶片加工装置,包括竖向搅拌装置和横向搅拌装置,竖向搅拌装置包括竖向搅拌腔,竖向搅拌腔上侧安装有第一电机和进料口,第一电机连接有竖向搅拌杆,竖向搅拌杆上安装有竖向螺旋叶片,竖向搅拌杆下端连接有竖向轴承,竖向搅拌腔最下端开设有两个对称混合料进口,混合料进口设于横向搅拌装置上,横向搅拌装置包括横向搅拌腔,横向搅拌腔左侧安装有第二电机,第二电机连接有横向搅拌杆,横向搅拌杆连接有横向轴承,横向搅拌杆外壁安装有横向旋转叶片,横向搅拌腔上侧设有热水管、加热箱和冷水管,横向搅拌腔两侧连接有烘干压片装置。该枸杞奶片加工装置操作方便,搅拌更加充分均匀,所制造的枸杞奶片品质良好。


