授权公布号:CN210695834U
一种黑枸杞粉制备装置
有效
申请
2018-02-23
申请公布
1970-01-01
授权
2020-06-09
预估到期
2028-02-23
| 申请号 | CN201820262768.X |
| 申请日 | 2018-02-23 |
| 授权公布号 | CN210695834U |
| 授权公告日 | 2020-06-09 |
| 分类号 | A23L33/00 |
| 分类 | 其他类不包含的食品或食料;及其处理; |
| 申请人名称 | 青海三江雪生物科技集团有限公司 |
| 申请人地址 | 青海省西宁市经济开发区昆仑东路21号 |
专利法律状态
2020-06-09
授权
状态信息
授权
摘要
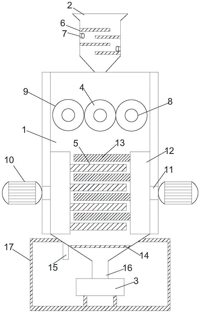
本实用新型公开了一种黑枸杞粉制备装置,包括破碎箱体,破碎箱体上侧设有进料装置,破碎箱体下侧设有收集箱,进料装置内部安装有挡板和杀菌灯,进料装置下端口连接有破碎箱体的进料口,破碎箱体内部设有一级破碎装置和二级破碎装置,一级破碎装置位于二级破碎装置上侧,一级破碎装置包括旋转辊杆和研磨辊,二级破碎装置包括破碎杆和旋转板,旋转板右侧连接有旋转支杆和旋转电机,旋转电机固定在破碎箱体外壁上,破碎箱体下侧设有筛分网,筛分网上侧设有粗料出口,筛分网下侧设有细料出口,细料出口下侧连接有收集箱。该黑枸杞粉制备装置操作方便,研磨效果好,研磨后的产品粒度均匀,更容易吸收消化,同时制得产品保存时间更久。


