授权公布号:CN215089365U
一种醪糟生产用的洗米装置
有效
申请
2021-06-11
申请公布
1970-01-01
授权
2021-12-10
预估到期
2031-06-11
| 申请号 | CN202121305018.4 |
| 申请日 | 2021-06-11 |
| 授权公布号 | CN215089365U |
| 授权公告日 | 2021-12-10 |
| 分类号 | B08B3/10;B03C1/02 |
| 分类 | 清洁; |
| 申请人名称 | 四川东柳醪糟有限责任公司 |
| 申请人地址 | 四川省达州市大竹县月华镇新街168号 |
专利法律状态
2021-12-10
授权
状态信息
授权
2021-12-10
授权
状态信息
授权
摘要
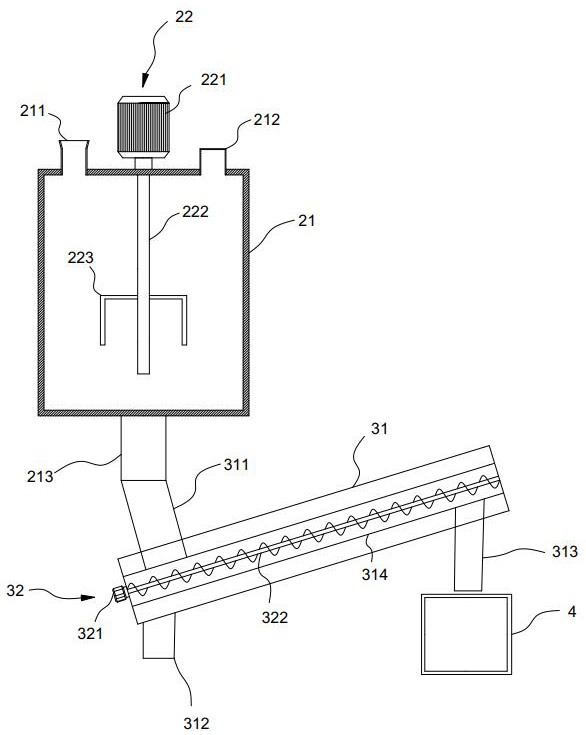
本实用新型属于醪糟生产技术领域。基于现有的人工洗米无法满足醪糟工业化生产的要求,本实用新型公开了一种醪糟生产用的洗米装置,包括洗米组件,具有洗米箱;搅拌机构,安装在所述洗米箱上;分离组件,和所述洗米箱连接;其中,所述分离组件包括分离管道,和所述洗米箱连接,与水平方向呈夹角设置;所述分离管道内部套设有分离网;螺旋绞龙,具有螺杆,所述螺杆设置在所述分离网中;其中,所述分离管道临近最高端设置有第二分离出口,所述第二分离出口和所述分离网连通,用于排米;所述分离管道临近最底端设置有第一分离出口,用于排水。该洗米装置解决了人工洗米耗时耗力的问题,清洗效果好,清洗效率高。


