授权公布号:CN206507155U
香肠剪切机
有效
申请
2016-10-08
申请公布
1970-01-01
授权
2017-09-22
预估到期
2026-10-08
| 申请号 | CN201621103705.7 |
| 申请日 | 2016-10-08 |
| 授权公布号 | CN206507155U |
| 授权公告日 | 2017-09-22 |
| 分类号 | A22C11/00 |
| 分类 | 屠宰;肉品处理;家禽或鱼的加工; |
| 申请人名称 | 天津市强源食品有限公司 |
| 申请人地址 | 天津市武清区黄庄工业区 |
专利法律状态
2017-09-22
授权
状态信息
授权
摘要
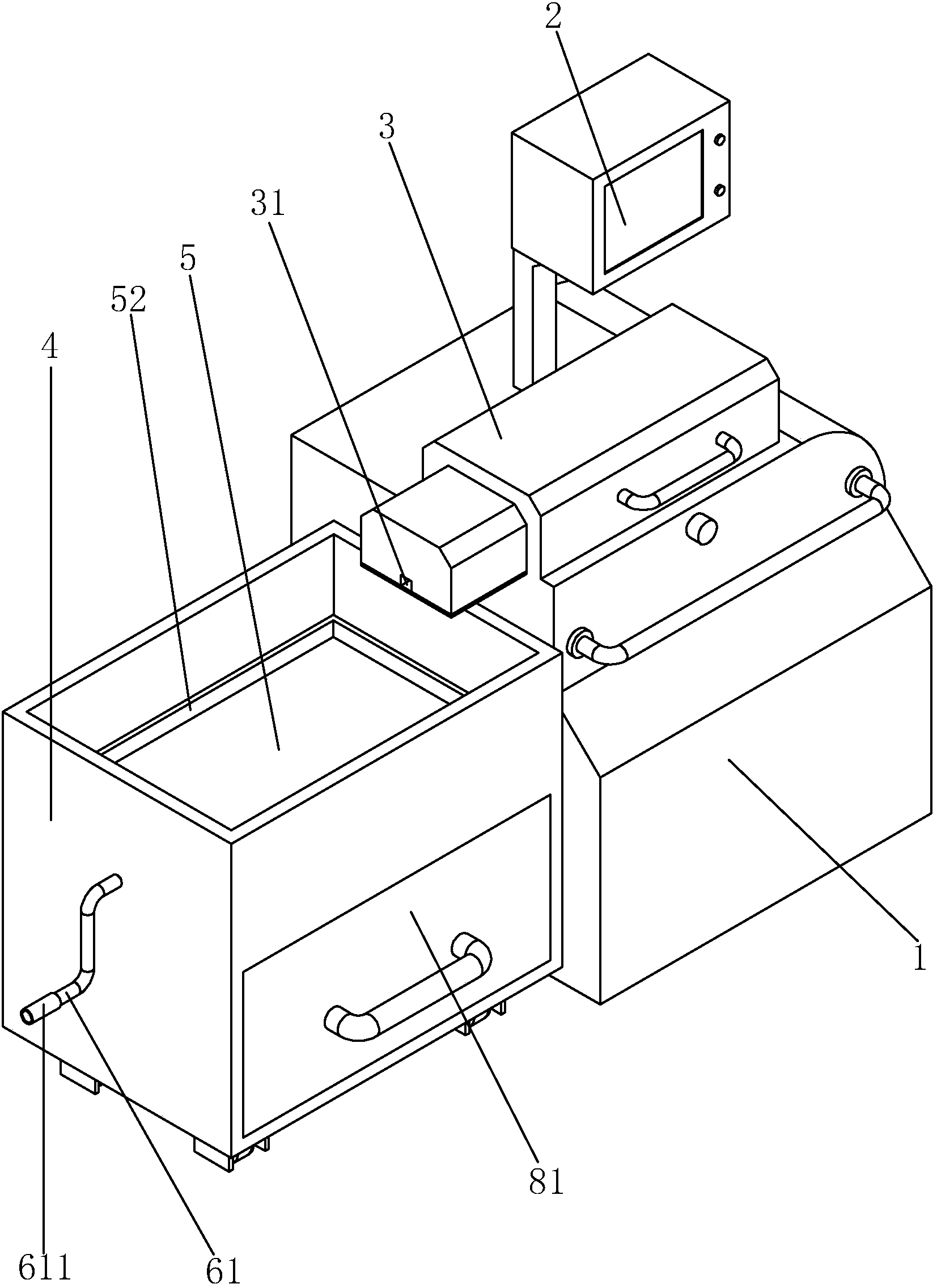
本实用新型公开了一种香肠剪切机,其技术方案要点是包括机体和控制面板,机体内置有剪切装置,剪切装置两端分别设置上料口和下料口,所述机体靠近下料口的一侧设有箱体,箱体内置有与箱体内壁相适配的检测板,检测板与箱体之间设置有转动结构,检测板与箱体底壁形成有接料腔,检测板设有检测面,转动结构供检测板转动带动检测面倾斜后,检测板与箱体内壁形成有供香肠进入接料腔的间隙,达到了便于对香肠的剪切准确度进行实时监测效果。


