授权公布号:CN217025558U
一种番茄酱多级脱水过滤罐
有效
申请
2022-04-18
申请公布
1970-01-01
授权
2022-07-22
预估到期
2032-04-18
| 申请号 | CN202220893326.1 |
| 申请日 | 2022-04-18 |
| 授权公布号 | CN217025558U |
| 授权公告日 | 2022-07-22 |
| 分类号 | C02F9/02;C02F1/28;B01D29/03;B01D29/96;C02F103/32N |
| 分类 | 水、废水、污水或污泥的处理; |
| 申请人名称 | 中基健康产业股份有限公司 |
| 申请人地址 | 新疆维吾尔自治区五家渠25区青湖南路2666号5幢院落室宾馆A院 |
专利法律状态
2022-07-22
授权
状态信息
授权
摘要
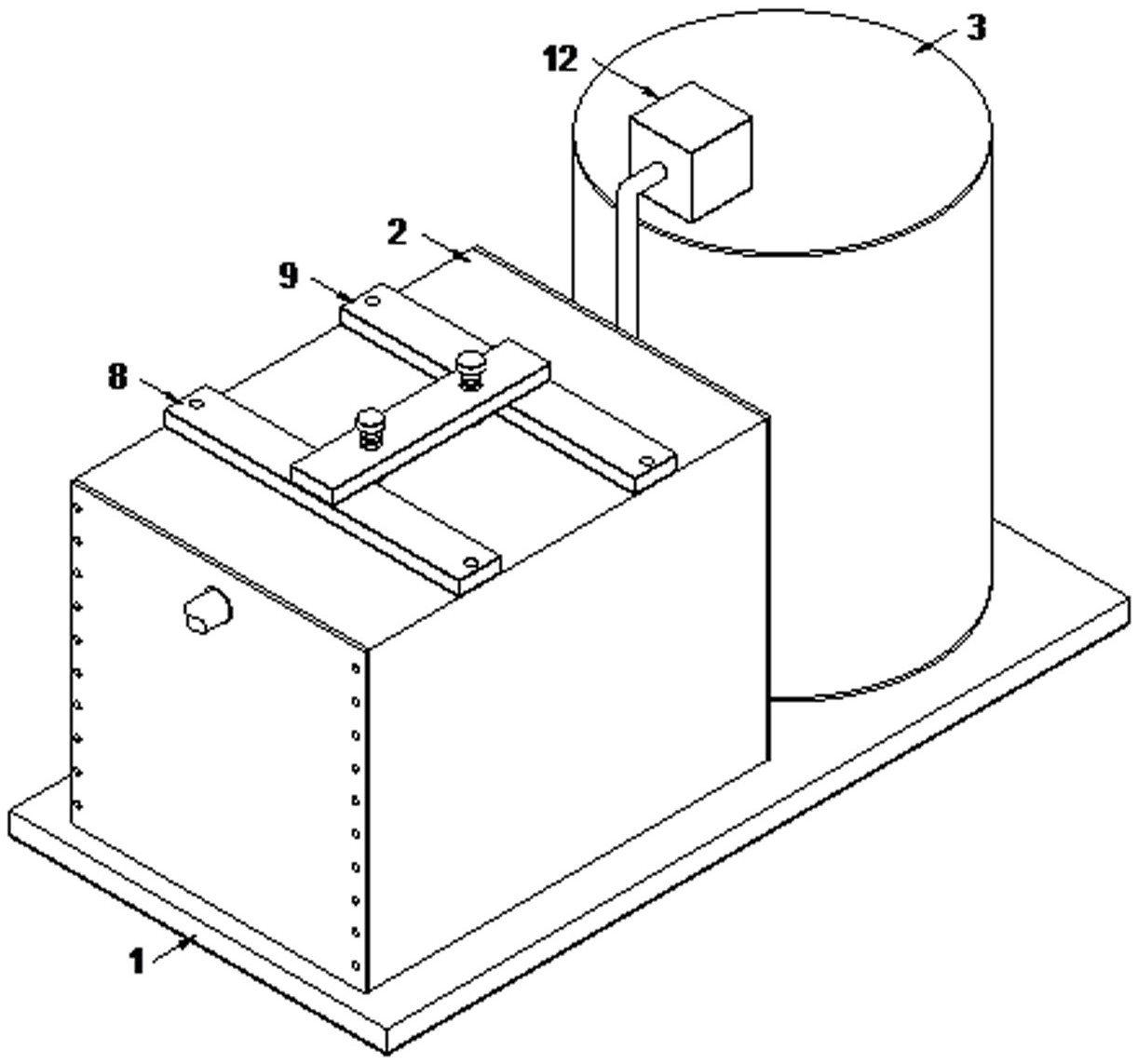
本实用新型公开了一种番茄酱多级脱水过滤罐,涉及番茄酱生产废水净化设备技术领域,包括底座和分别固定设置在底座顶端两侧的过滤罐和消毒罐,过滤罐一侧的顶部设置有进水管,过滤罐另一侧的底部设置有排水管,过滤罐内位于进水管的底部设置有倾斜设置的导流板,过滤罐内靠近导流板的一侧设置有过滤机构,过滤机构远离导流板的一侧设置有吸附机构,过滤机构和吸附机构的底端均相配合设置在过滤罐内开设的限位槽内,过滤机构和吸附机构的顶端均穿过过滤罐置于过滤罐的顶部,且过滤机构和吸附机构的顶端设置有同一压板,压板通过固定螺钉与过滤罐固定连接。本实用新型优点在于能够方便快捷的对过滤后的杂质进行处理。


