授权公布号:CN217076250U
一种番茄红素粉末密封输送装置
有效
申请
2022-04-24
申请公布
1970-01-01
授权
2022-07-29
预估到期
2032-04-24
| 申请号 | CN202220955729.4 |
| 申请日 | 2022-04-24 |
| 授权公布号 | CN217076250U |
| 授权公告日 | 2022-07-29 |
| 分类号 | B65G53/66;B65G53/50;B65G53/52;B07B1/28;F26B11/16;F26B21/00;F26B25/02;F26B25/04 |
| 分类 | 输送;包装;贮存;搬运薄的或细丝状材料; |
| 申请人名称 | 中基健康产业股份有限公司 |
| 申请人地址 | 新疆维吾尔自治区五家渠25区青湖南路2666号5幢院落室宾馆A院 |
专利法律状态
2022-07-29
授权
状态信息
授权
摘要
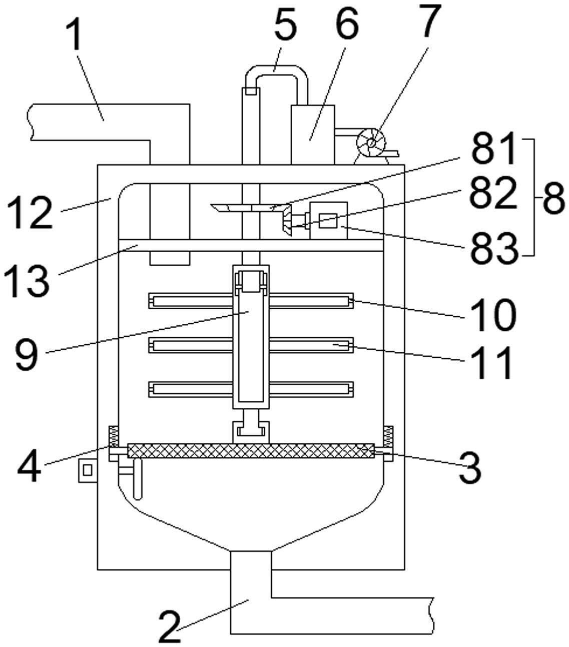
本实用新型适用于番茄素加工生产技术领域,尤其涉及一种番茄红素粉末密封输送装置,包括第一输送管、第二输送管以及输送箱,所述第一输送管与输送箱的顶部相连接,第二输送管与输送箱的底部相连接,其中输送箱内部设有空心管,空心管的底部与顶部均闭合,空心管贯穿输送箱顶部并与其转动连接,其中空心管的顶部贯穿有气管,气管与空心管转动连接,所述气管连接有加热箱以及风机,所述空心管的侧壁上设有多个支管,支管上设有出气孔,支管与空心管相通,所述空心管的下方设有网板;本装置在对番茄素粉末进行输送时,通过热风对结块受潮的番茄素粉末进行干燥,保证了番茄素粉末均为细小颗粒状态,进而保证了番茄素粉末的质量。


