授权公布号:CN219288934U
一种防倾覆自热米饭盒结构
有效
申请
2023-02-20
申请公布
1970-01-01
授权
2023-07-04
预估到期
2033-02-20
| 申请号 | CN202320259391.3 |
| 申请日 | 2023-02-20 |
| 授权公布号 | CN219288934U |
| 授权公告日 | 2023-07-04 |
| 分类号 | A45C11/20;A47J27/04;A47J36/34;A45C13/00 |
| 分类 | 手携物品或旅行品; |
| 申请人名称 | 四川美宁食品有限公司 |
| 申请人地址 | 四川省遂宁市船山区明星大道313号 |
专利法律状态
2023-07-04
授权
状态信息
授权
摘要
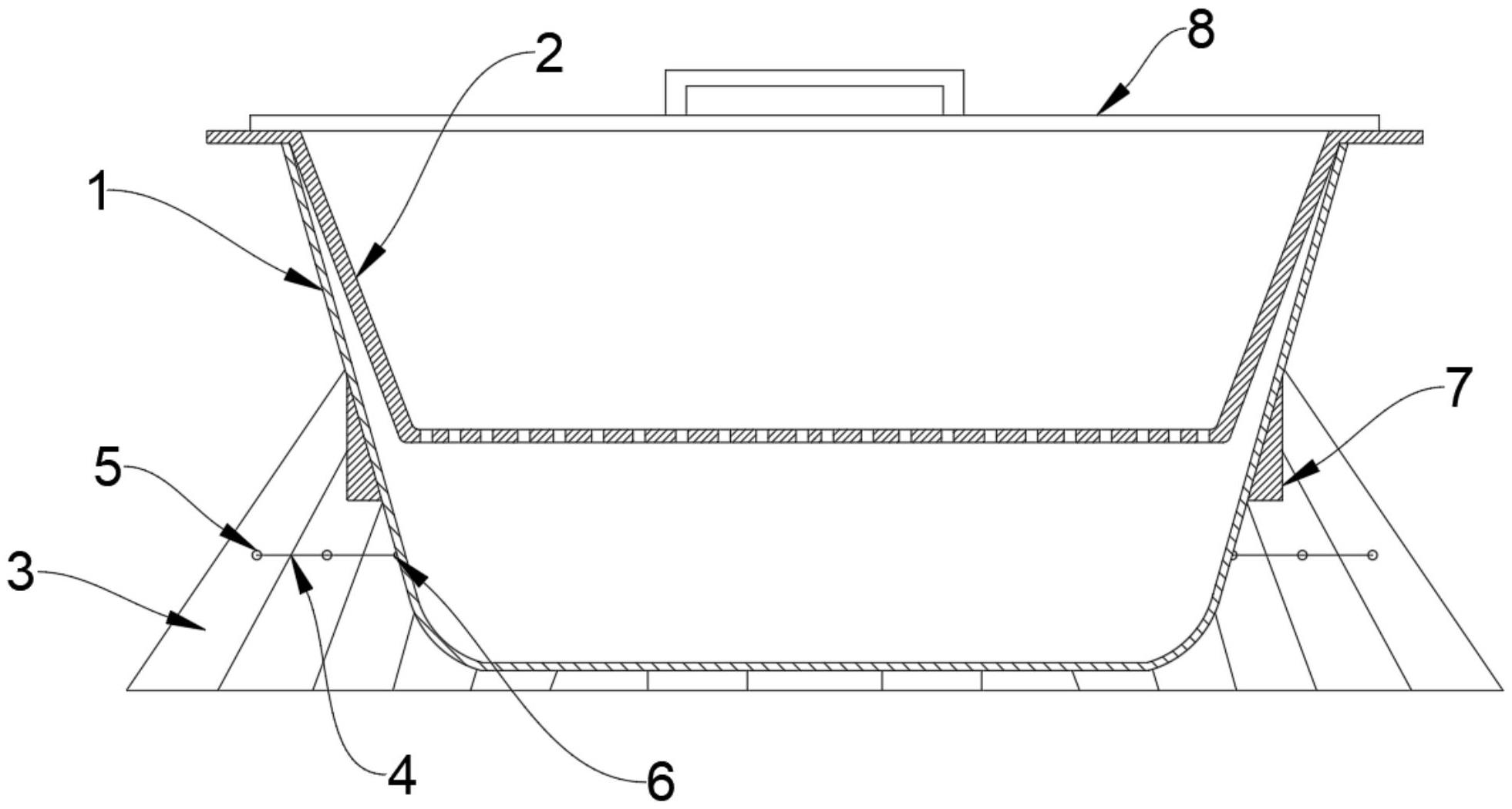
本实用新型公开了一种防倾覆自热米饭盒结构,包括自热饭盒蒸汽碗、自热饭盒食材碗和自热饭盒盖板,所述自热饭盒食材碗位于所述自热饭盒蒸汽碗内的上段,所述自热饭盒盖板与所述自热饭盒食材碗的上端可拆卸连接,所述自热饭盒食材碗与所述自热饭盒蒸汽碗之间可拆卸连接,所述自热饭盒蒸汽碗的下段外围设置有支撑结构。本实用新型通过在饭盒蒸汽碗的下段外围设置锥形结构构成支撑体,从而在不改变现有自热饭盒良好性能的情况下提供支撑,防止饭盒倾倒,并且支撑结构能够折叠收纳,不占用运输体积,使用方便,具有推广应用的价值。


