授权公布号:CN209599339U
一种曝辣椒破皮机专用破皮切割装置
有效
申请
2019-02-08
申请公布
1970-01-01
授权
2019-11-08
预估到期
2029-02-08
| 申请号 | CN201920188570.6 |
| 申请日 | 2019-02-08 |
| 授权公布号 | CN209599339U |
| 授权公告日 | 2019-11-08 |
| 分类号 | B26D7/26;B26D1/14 |
| 分类 | 手动切割工具;切割;切断; |
| 申请人名称 | 辣妹子食品股份有限公司 |
| 申请人地址 | 湖南省益阳市沅江经济开发区辣妹子食品工业园 |
专利法律状态
2019-11-08
授权
状态信息
授权
摘要
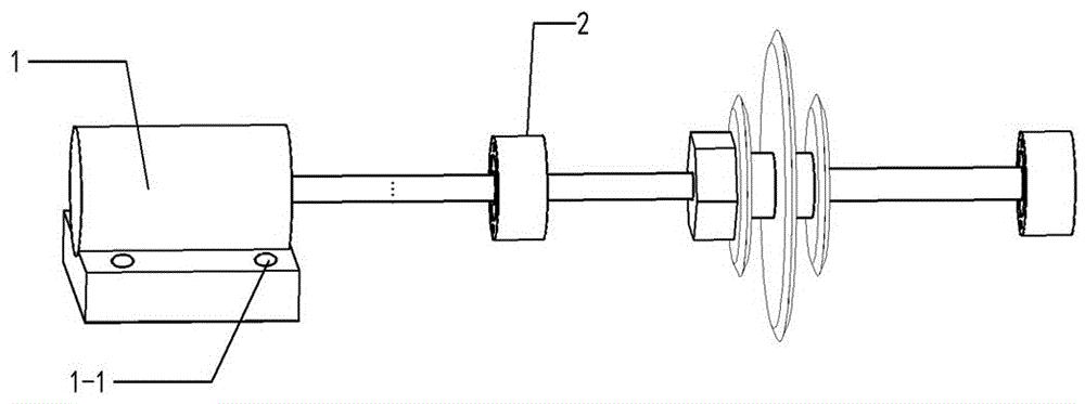
本实用新型公开了一种曝辣椒破皮机专用破皮切割装置,它由切割调速电机1和切割装置2组成;所述切割装置2由大小头中心轴2‑1、切割片固定螺丝帽2‑2、中孔小切割片2‑3、中孔大切割片2‑4、隔离环2‑5、切割装置安装轴承座2‑6组成;本实用新型设计的中孔小切割片2‑3、中孔大切割片2‑4可以较好的对辣椒进行破皮,辣椒掉在中孔大切割片2‑2‑2‑4上,遗漏的辣椒掉在中孔小切割片2‑2‑2‑3上进行破皮作业。


