授权公布号:CN216375254U
一种齿轮链条同步推送机构
有效
申请
2021-12-04
申请公布
1970-01-01
授权
2022-04-26
预估到期
2031-12-04
| 申请号 | CN202123040805.3 |
| 申请日 | 2021-12-04 |
| 授权公布号 | CN216375254U |
| 授权公告日 | 2022-04-26 |
| 分类号 | B65B43/52;B65G17/40;B65G17/30 |
| 分类 | 输送;包装;贮存;搬运薄的或细丝状材料; |
| 申请人名称 | 山东小康机械有限公司 |
| 申请人地址 | 山东省潍坊市诸城市密州东路7777号 |
专利法律状态
2022-04-26
授权
状态信息
授权
摘要
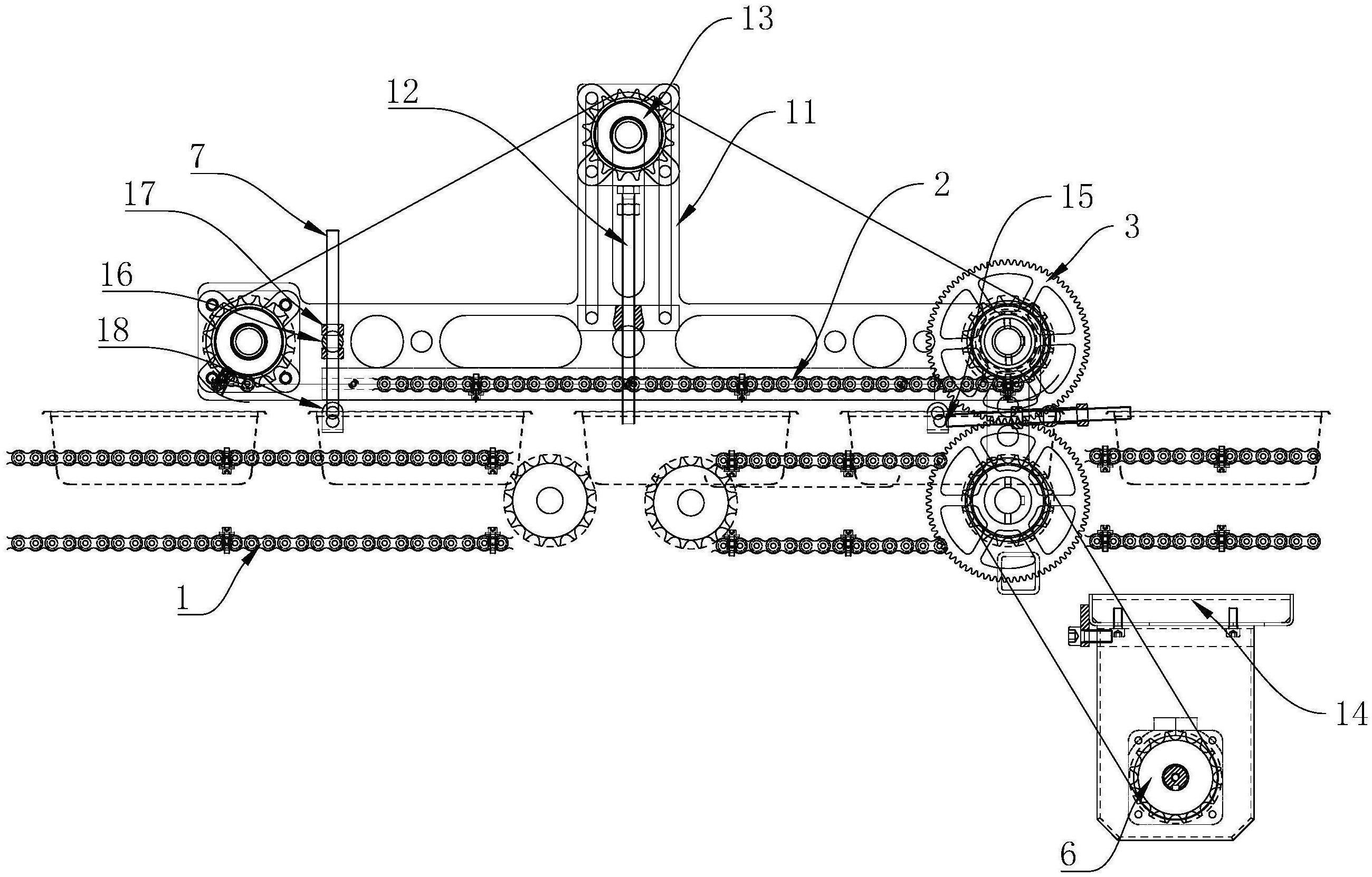
本实用新型公开了一种齿轮链条同步推送机构,包括底部相邻的多组底部输送链条和位于底部输送链条之间上方的顶部输送链条,底部输送链条和顶部输送链条之间的一端齿轮相啮合,其中一侧的齿轮外部从动链轮通过传动链条与驱动减速电机的主动链轮传动连接,底部输送链条和顶部输送链条分为两侧的两组,且各组底部输送链条和顶部输送链条之间设置有多条均匀排布的推杆,底部输送链条和顶部输送链条的两端分别套在链轮上,各侧对称的链轮通过连接轴贯穿并固定连接。本实用新型可以保证上过渡输送链条和前后两条输送链条之间保证同步运动,同时将盒子从一条链条上输送到另外一条输送链条上。


