授权公布号:CN219363126U
一种新型提升机构
有效
申请
2022-12-29
申请公布
1970-01-01
授权
2023-07-18
预估到期
2032-12-29
| 申请号 | CN202223550299.7 |
| 申请日 | 2022-12-29 |
| 授权公布号 | CN219363126U |
| 授权公告日 | 2023-07-18 |
| 分类号 | B66F7/06;B66F7/28 |
| 分类 | 卷扬;提升;牵引; |
| 申请人名称 | 山东小康机械有限公司 |
| 申请人地址 | 山东省潍坊市诸城市密州东路7777号 |
专利法律状态
2023-07-18
授权
状态信息
授权
摘要
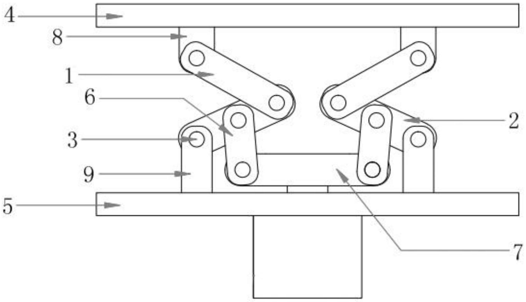
本实用新型公开了一种新型提升机构,包括左右对称设置的上连杆和下连杆,各侧的上连杆和下连杆分别通过连杆轴首位转动连接,各侧上连杆的上端分别与顶部固定板转动连接,下连杆的下端与底部固定座转动连接,各侧下连杆的中间部位分别通过推拉连杆与中间连杆的两端转动连接,底部固定座设置有用于推动中间连杆在下连杆之间上下活动的驱动装置。本实用新型可以有效减小气缸或者是电机丝杆的行程,减小气缸的大小或者是电机的扭矩,当上部有压力下压时,提升机构稳定,能够机械锁死,不会下降;增加了设备运行的稳定性,同时,也降低了成本,结构简单。


