授权公布号:CN216302566U
一种旋转凸轮落盒机构
有效
申请
2021-12-04
申请公布
1970-01-01
授权
2022-04-15
预估到期
2031-12-04
| 申请号 | CN202123030538.1 |
| 申请日 | 2021-12-04 |
| 授权公布号 | CN216302566U |
| 授权公告日 | 2022-04-15 |
| 分类号 | B65G47/82 |
| 分类 | 输送;包装;贮存;搬运薄的或细丝状材料; |
| 申请人名称 | 山东小康机械有限公司 |
| 申请人地址 | 山东省潍坊市诸城市密州东路7777号 |
专利法律状态
2022-04-15
授权
状态信息
授权
摘要
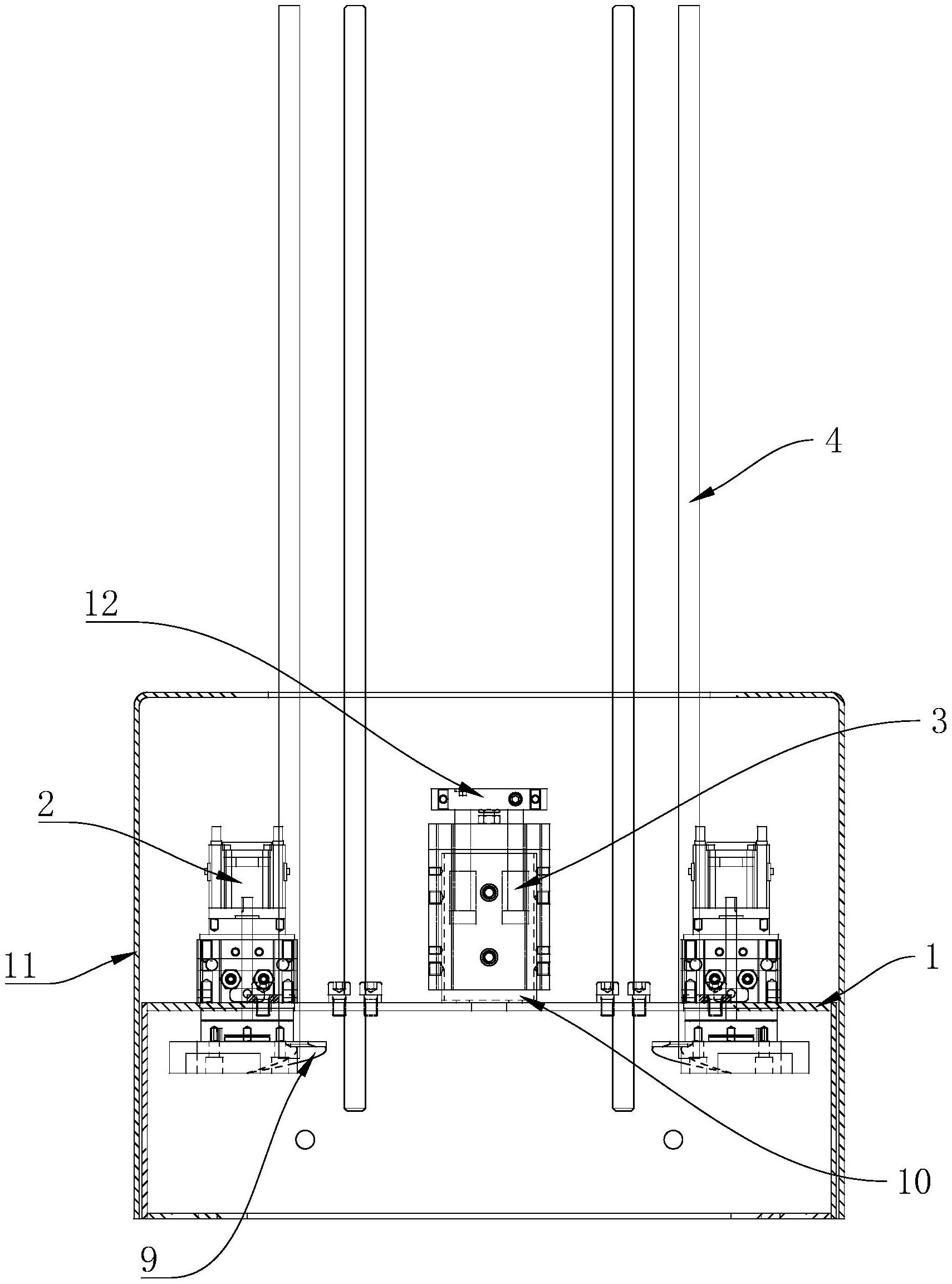
本实用新型公开了一种旋转凸轮落盒机构,包括安装盒、摆台叶片式气缸和双联气缸,安装盒开口设置有多条竖直的围杆,形成盒子的放置通道,摆台叶片式气缸的下端输出轴固定有驱动转动的分盒凸轮,分盒凸轮的外围分别设置有扇形的支撑台和扇形的推盒台,支撑台的厚度小于支撑台主体厚度,且支撑台的上表面低于支撑台的上表面,支撑台的弧长小于推盒台,且支撑台和推盒台的两端之间在分盒凸轮侧面分别设置有扇形缺口,推盒台的扇形拉直展开后其竖直截面为直角梯形,直角梯形的斜边形成推盒台的推盒斜面,其推盒斜面部分斜朝向下方,推盒斜面的上端高于支撑台的上表面。本实用新型使盒子顺序落下,可靠性高,而且提高了下落效率。


