授权公布号:CN216301552U
一种膏体清口灌装器
有效
申请
2021-12-13
申请公布
1970-01-01
授权
2022-04-15
预估到期
2031-12-13
| 申请号 | CN202123122600.X |
| 申请日 | 2021-12-13 |
| 授权公布号 | CN216301552U |
| 授权公告日 | 2022-04-15 |
| 分类号 | B65B3/04;B65B55/00 |
| 分类 | 输送;包装;贮存;搬运薄的或细丝状材料; |
| 申请人名称 | 山东小康机械有限公司 |
| 申请人地址 | 山东省潍坊市诸城市密州东路7777号 |
专利法律状态
2022-04-15
授权
状态信息
授权
摘要
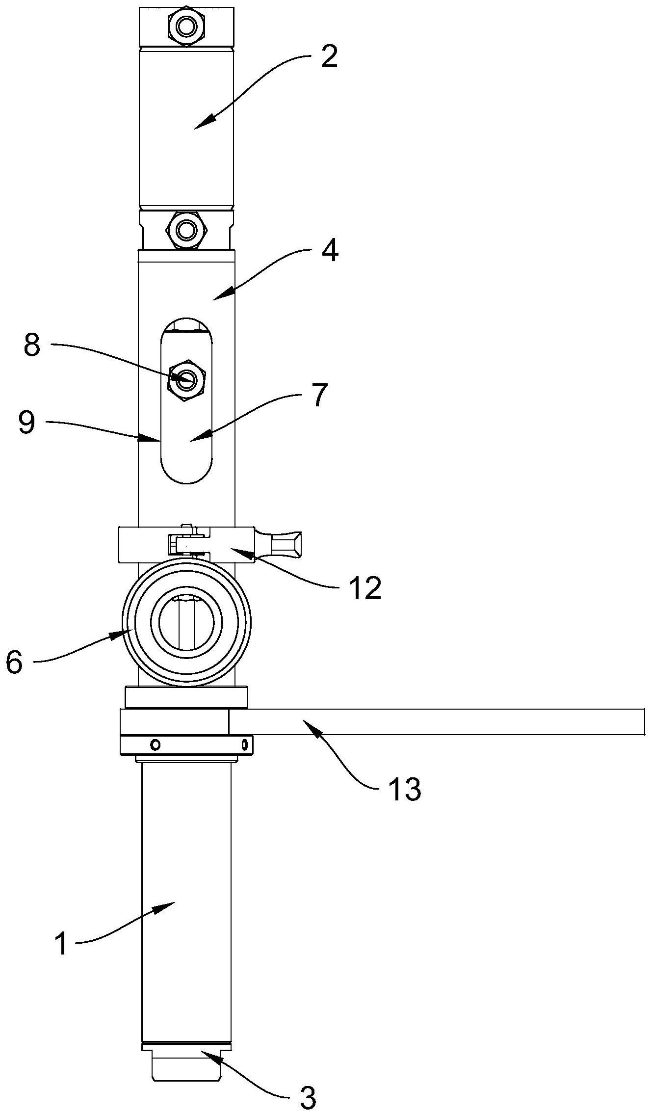
本实用新型公开了一种膏体清口灌装器,包括三通状的灌装体和气缸,灌装体的底部设置有喷嘴,灌装体的顶部与筒状的气缸固定座固定连接,灌装体的一侧为注料口,气缸固定座上端固定有气缸,气缸的下端伸缩端与导杆固定连接,导杆空心设置,且压缩空气氮气接口位于气缸固定座侧壁的长条形滑动开口内,导杆的下端与灌装体内竖直的吹气杆上端连通,吹气杆的下端设置有直径大于吹气杆的吹气嘴,吹气嘴的下端出气,吹气嘴的外直径等于喷嘴的内直径。本实用新型防止黏连在喷嘴上的残留物料影响到克重,以及防止粘到包装袋封口线处影响分口。


