授权公布号:CN209921754U
一种真空包装机室内整平装置
有效
申请
2019-05-16
申请公布
1970-01-01
授权
2020-01-10
预估到期
2029-05-16
| 申请号 | CN201920697537.6 |
| 申请日 | 2019-05-16 |
| 授权公布号 | CN209921754U |
| 授权公告日 | 2020-01-10 |
| 分类号 | B65B61/24 |
| 分类 | 输送;包装;贮存;搬运薄的或细丝状材料; |
| 申请人名称 | 山东小康机械有限公司 |
| 申请人地址 | 山东省潍坊市诸城市密州东路7777号 |
专利法律状态
2020-01-10
授权
状态信息
授权
摘要
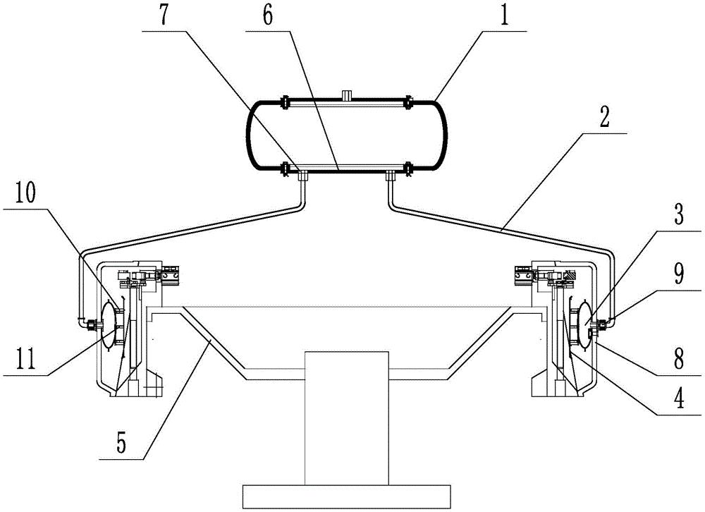
本实用新型公开了一种真空包装机室内整平装置,包括复位气囊、联接管、整平气囊和整平板,所述复位气囊安装在机体顶部,在复位气囊底部安装有环形卡槽,所述环形卡槽内等角度设有多组联接管安装孔,在每组联接管安装孔上各安装有一组联接管,在真空室盖的端面中央位置安装有换气机构,所述换气机构的外端与联接管的末端相接,内端安装有整平气囊,所述整平气囊上安装有整平板。本实用新型可在真空室盖关闭的情况下,通过整平气囊的膨胀来带动整平板对抽真空的袋装产品进行整平,打开真空室盖后,整平气囊收缩,整平板复位,可对袋装产品起到很好的整平效果。本实用新型采用的气囊为弹性结构,不会对产品造成器质性损伤,可有效提高产品的成品率。


