授权公布号:CN219098266U
一种齿轮张紧膜轴总成
有效
申请
2022-12-29
申请公布
1970-01-01
授权
2023-05-30
预估到期
2032-12-29
| 申请号 | CN202223606414.8 |
| 申请日 | 2022-12-29 |
| 授权公布号 | CN219098266U |
| 授权公告日 | 2023-05-30 |
| 分类号 | B65H23/26 |
| 分类 | 输送;包装;贮存;搬运薄的或细丝状材料; |
| 申请人名称 | 山东小康机械有限公司 |
| 申请人地址 | 山东省潍坊市诸城市密州东路7777号 |
专利法律状态
2023-05-30
授权
状态信息
授权
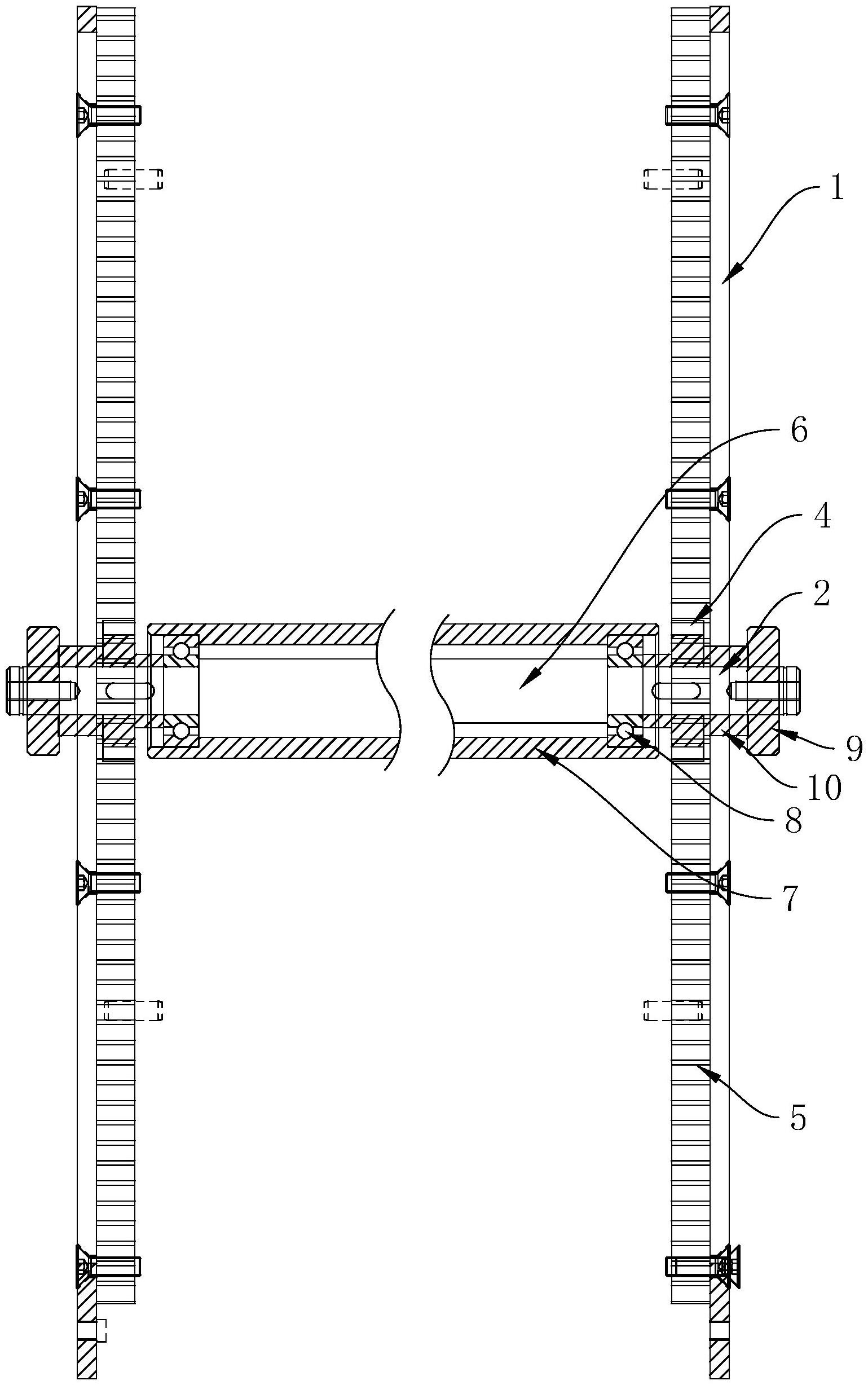
摘要
本实用新型公开了一种齿轮张紧膜轴总成,包括膜轴和设置在膜轴两侧的槽板,膜轴两端设置的导向轴分别贯穿两侧的槽板的长条形滑槽,使膜轴沿着长条形滑槽在两侧的槽板之间可以上下滑动,各条导向轴分别贯穿固定有齿轮,每个齿轮分别与对应长条形滑槽一侧槽板侧壁固定的齿条相啮合。本实用新型膜轴两端分别设置有与齿条相啮合的齿轮,通过与两侧齿条配合,确保膜轴上下活动时两端同步运行,实现同步涨紧不会出现包装膜位置跑偏的现象;由于整条膜轴的重量保持不变,利用该膜轴的重量进行涨紧,实现了对膜的涨紧力始终保持不变。


