授权公布号:CN219144981U
一种齿轮张紧膜轴过线装置
有效
申请
2022-12-26
申请公布
1970-01-01
授权
2023-06-06
预估到期
2032-12-26
| 申请号 | CN202223570229.8 |
| 申请日 | 2022-12-26 |
| 授权公布号 | CN219144981U |
| 授权公告日 | 2023-06-06 |
| 分类号 | H02G15/013;H02G3/04 |
| 分类 | 发电、变电或配电; |
| 申请人名称 | 山东小康机械有限公司 |
| 申请人地址 | 山东省潍坊市诸城市密州东路7777号 |
专利法律状态
2023-06-06
授权
状态信息
授权
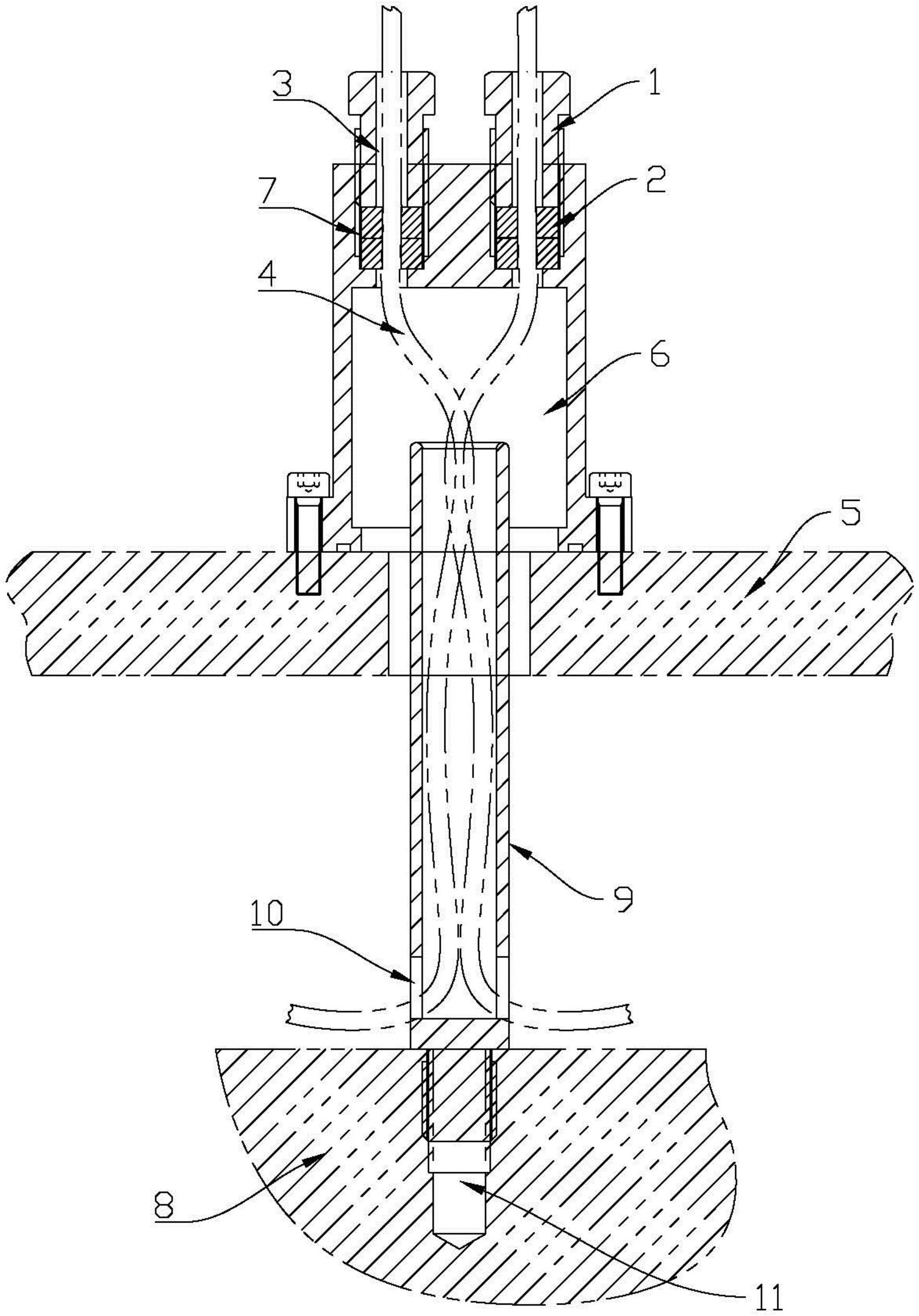
摘要
本实用新型公开了一种齿轮张紧膜轴过线装置,包括密封螺栓和橡胶垫,密封螺栓以及橡胶垫贯穿有竖直的导线穿孔,电源线贯穿密封螺栓和橡胶垫的导线穿孔,密封螺栓和橡胶垫置于螺纹孔内,电源线贯穿螺纹孔底部,利用密封螺栓压紧带有弹性的橡胶垫将电源线包裹住使螺纹孔的底部密封。本实用新型密封螺栓压紧带有弹性的橡胶垫将电源线包裹住,因此在该部位形成了密封结构,使导线穿过该部位也不会发生上下连通现象,防止漏水或漏气,这样可以有效的将电源线穿过隔板而起到密封作用。


