授权公布号:CN210391660U
一种全自动带壳投蛋机
有效
申请
2019-06-13
申请公布
1970-01-01
授权
2020-04-24
预估到期
2029-06-13
| 申请号 | CN201920893081.0 |
| 申请日 | 2019-06-13 |
| 授权公布号 | CN210391660U |
| 授权公告日 | 2020-04-24 |
| 分类号 | B65B23/06;B65B57/14 |
| 分类 | 输送;包装;贮存;搬运薄的或细丝状材料; |
| 申请人名称 | 山东小康机械有限公司 |
| 申请人地址 | 山东省潍坊市诸城市密州东路7777号 |
专利法律状态
2020-04-24
授权
状态信息
授权
摘要
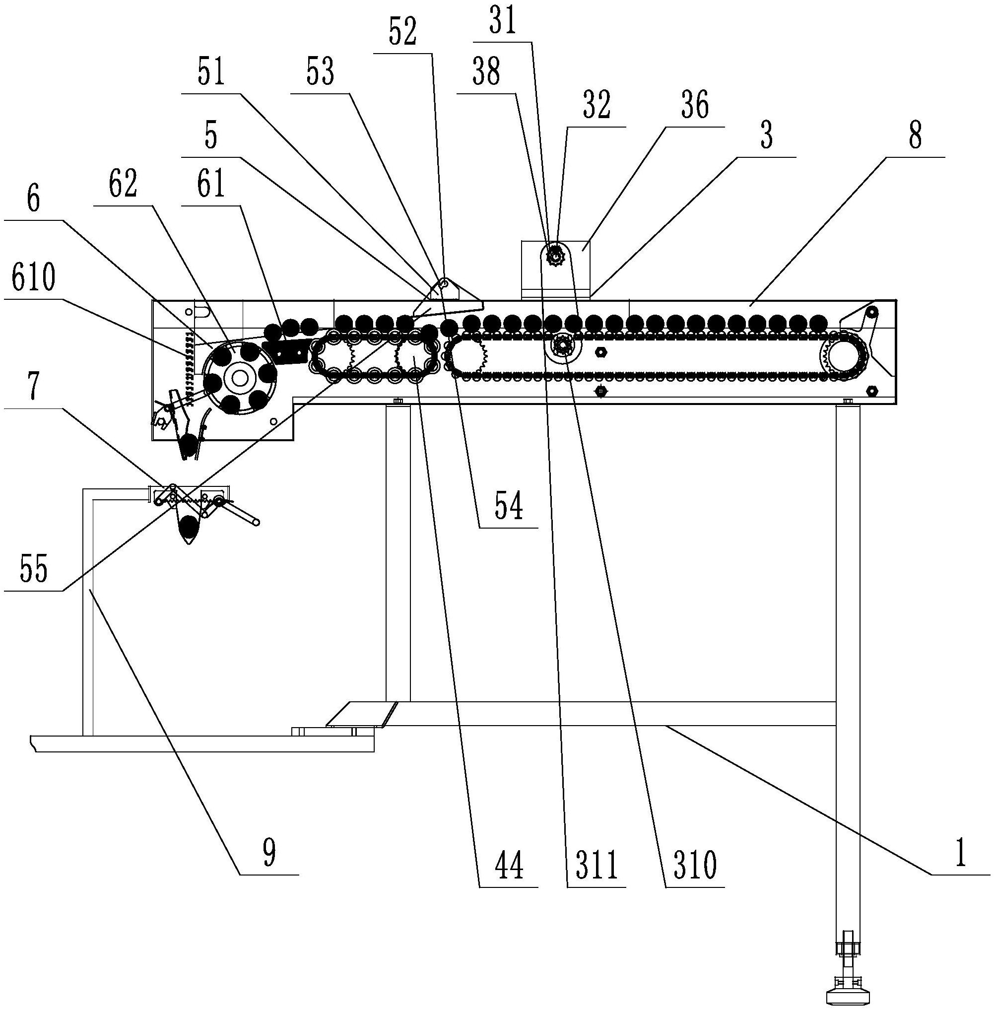
本实用新型公开了一种全自动带壳投蛋机,包括机架、储蛋仓、拨蛋机构、排列输送机构、生蛋流量检测机构、夹蛋缓冲装置和投蛋机构,所述机架顶部安装有投蛋箱,在投蛋箱内部最右端安装有储蛋仓,在储蛋仓左端接有拨蛋机构,在拨蛋机构左端接有排列输送机构,在排列输送机构上方位于投蛋箱上安装有生蛋流量检测机构,所述夹蛋缓冲装置安装在投蛋箱内部最左端位置,在夹蛋缓冲装置下方位于包装机支撑杆上安装有投蛋机构。本实用新型能实现自动化投蛋,大大减少人工需求,降低禽蛋破损率,从而有效降低原材料消耗,减少运行成本,提高生产效率。


