授权公布号:CN219193950U
一种新型涨紧轴
有效
申请
2022-12-29
申请公布
1970-01-01
授权
2023-06-16
预估到期
2032-12-29
| 申请号 | CN202223550251.6 |
| 申请日 | 2022-12-29 |
| 授权公布号 | CN219193950U |
| 授权公告日 | 2023-06-16 |
| 分类号 | B65H23/26 |
| 分类 | 输送;包装;贮存;搬运薄的或细丝状材料; |
| 申请人名称 | 山东小康机械有限公司 |
| 申请人地址 | 山东省潍坊市诸城市密州东路7777号 |
专利法律状态
2023-06-16
授权
状态信息
授权
摘要
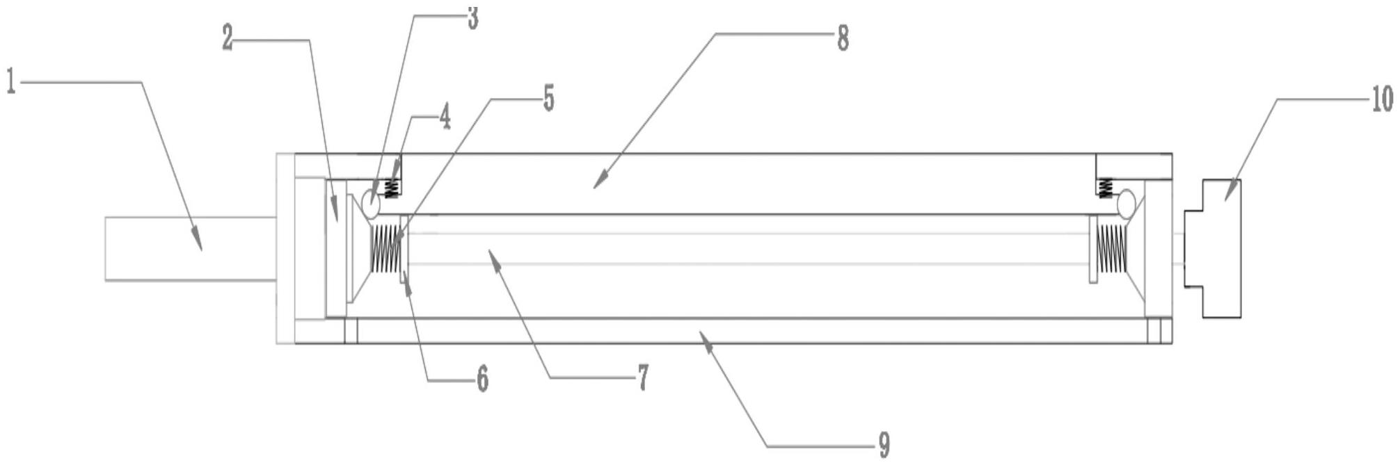
本实用新型公开了一种新型涨紧轴,包括外套和中间螺杆,中间螺杆位于外套内,且其中一端贯穿外套该端的端部,外套内两端分别设置有旋拧在中间螺杆上的涨紧块,涨紧块的相对一端为锥形结构,且中间螺杆贯穿锥形结构的尖部,涨膜块位于外套的长条形开口内,且贯穿外套的长条形开口,涨膜块的两端分别设置有可自由转动的滚动轴,各端的滚动轴分别与各端涨紧块的锥形结构斜面接触,两端涨紧块部位的中间螺杆螺纹旋转方向相反。本实用新型通过各零件的相对位置、各装配关系形成一个结构简单稳定可靠的涨紧结构,可以对各种包装机的各类卷膜涨紧、松开,增加了设备运行的稳定性,同时,也降低了成本。


