授权公布号:CN210864334U
手表
有效
申请
2019-11-13
申请公布
1970-01-01
授权
2020-06-26
预估到期
2029-11-13
| 申请号 | CN201921974250.X |
| 申请日 | 2019-11-13 |
| 授权公布号 | CN210864334U |
| 授权公告日 | 2020-06-26 |
| 分类号 | G04B47/04 |
| 分类 | 测时学; |
| 申请人名称 | 依波精品(深圳)有限公司 |
| 申请人地址 | 广东省深圳市南山区南海大道新能源大厦八楼 |
专利法律状态
2020-06-26
授权
状态信息
授权
摘要
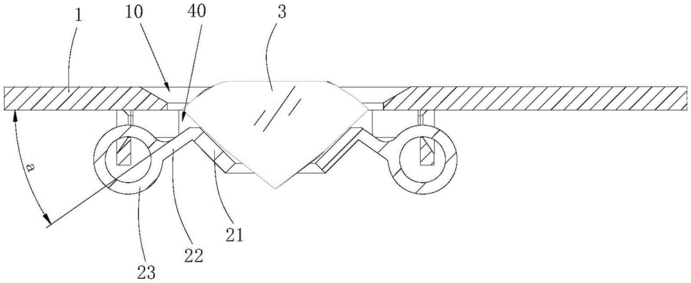
本实用新型提供了一种手表,包括表盘、托架和宝石,表盘具有正面和背面,表盘上开设有第一通孔,托架包括托杯、支撑臂和挂耳,宝石承托于托杯上,挂耳挂设于表盘的背面,支撑臂连接于挂耳与托杯之间以支撑托杯和宝石,支撑臂倾斜设置,支撑臂与挂耳之间具有第一连接点,支撑臂与托杯之间具有第二连接点,第一连接点相对第二连接点远离表盘,宝石的顶部从第一通孔凸出于表盘的正面。本实用新型提供的手表,通过将托架的支撑臂倾斜设置,如此可以将宝石的顶部从第一通孔凸出于表盘的正面,提高了宝石的可视角度,提高了宝石的观赏性。


