授权公布号:CN211698617U
一种防震手表
有效
申请
2020-03-11
申请公布
1970-01-01
授权
2020-10-16
预估到期
2030-03-11
| 申请号 | CN202020297985.X |
| 申请日 | 2020-03-11 |
| 授权公布号 | CN211698617U |
| 授权公告日 | 2020-10-16 |
| 分类号 | G04B37/18 |
| 分类 | 测时学; |
| 申请人名称 | 天王电子(深圳)有限公司 |
| 申请人地址 | 广东省深圳市宝安区龙华街道工业东路利金城科技工业园4栋4-5楼 |
专利法律状态
2020-10-16
授权
状态信息
授权
摘要
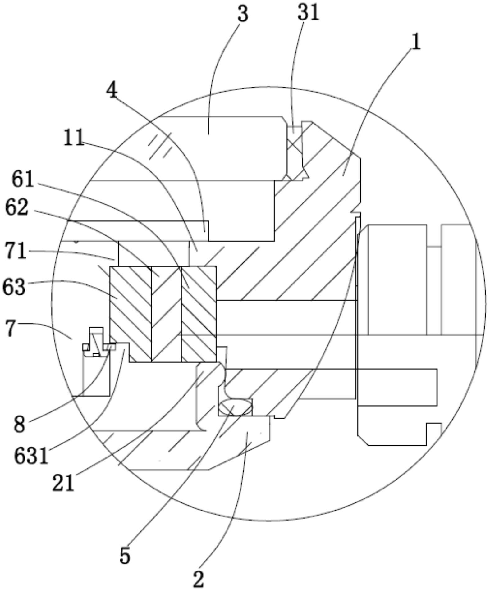
本申请提供了一种防震手表,包括:表壳、设于所述表壳下端的后盖、设于所述表壳上端的前盖,以及安装有表盘的机芯,所述机芯和所述表壳之间设有弹性的复合减震圈,所述复合减震圈包括成一体结构的外圈、中圈和内圈,所述机芯安装于所述内圈上并分别与所述前盖和所述后盖之间均具有间隙,所述中圈分别与所述内圈和所述外圈的弹性系数不同。机芯通过具有弹性的复合减震圈安装在表壳内,并使机芯分别与前盖和后盖间隙设置,这样能将机芯与表壳之间的刚性连接转变为弹性连接,并利用间隙提供减震空间,有效利用了复合减震圈中内圈、中圈和外圈不同的弹性来缓冲手表跌落时对机芯造成的冲击力,从而有效保证机芯不会受损,具有良好的防震耐冲击能力。


