授权公布号:CN211231227U
螺钉调整结构
有效
申请
2019-11-29
申请公布
1970-01-01
授权
2020-08-11
预估到期
2029-11-29
| 申请号 | CN201922126900.1 |
| 申请日 | 2019-11-29 |
| 授权公布号 | CN211231227U |
| 授权公告日 | 2020-08-11 |
| 分类号 | F16B39/02 |
| 分类 | 工程元件或部件;为产生和保持机器或设备的有效运行的一般措施;一般绝热; |
| 申请人名称 | 天王电子(深圳)有限公司 |
| 申请人地址 | 广东省深圳市宝安区龙华街道工业东路利金城科技工业园4栋4-5楼 |
专利法律状态
2020-08-11
授权
状态信息
授权
摘要
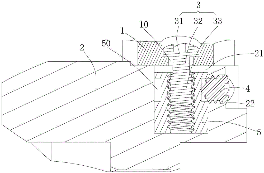
本实用新型提供了一种螺钉调整结构,包括第一装配件、第二装配件和螺钉,第一装配件开设有第一连接孔,第二装配件开设有第二连接孔,第二连接孔内设有套筒,螺钉穿过第一连接孔并与套筒螺纹连接,螺钉调整结构还包括用于固定套筒的锁紧件,第二装配件开设有第三连接孔,锁紧件用于穿过第三连接孔并抵接于套筒的外壁。而且,可在螺钉上设置卡簧或者在第一装配件设置变形部以防止螺钉掉落。本实用新型提供的螺钉调整结构,卡簧或者变形部的设置可以防止螺钉脱落,在需要调整螺钉头部的朝向时,松开锁紧件,旋转螺钉,螺钉带动套筒旋转,螺钉调整至所需的方向后,再使用锁紧件锁紧套筒,以实现对螺钉头部方向的调整。


