授权公布号:CN215904248U
一种硬质旅行箱轮子
有效
申请
2021-08-02
申请公布
1970-01-01
授权
2022-02-25
预估到期
2031-08-02
| 申请号 | CN202121780532.3 |
| 申请日 | 2021-08-02 |
| 授权公布号 | CN215904248U |
| 授权公告日 | 2022-02-25 |
| 分类号 | B60B33/00;B60B33/02;A45C13/00;A45C5/14;A45C5/04 |
| 分类 | 一般车辆; |
| 申请人名称 | 浙江鸿一箱包皮件有限公司 |
| 申请人地址 | 浙江省温州市瑞安市仙降街道时尚箱包园区 |
专利法律状态
2022-02-25
授权
状态信息
授权
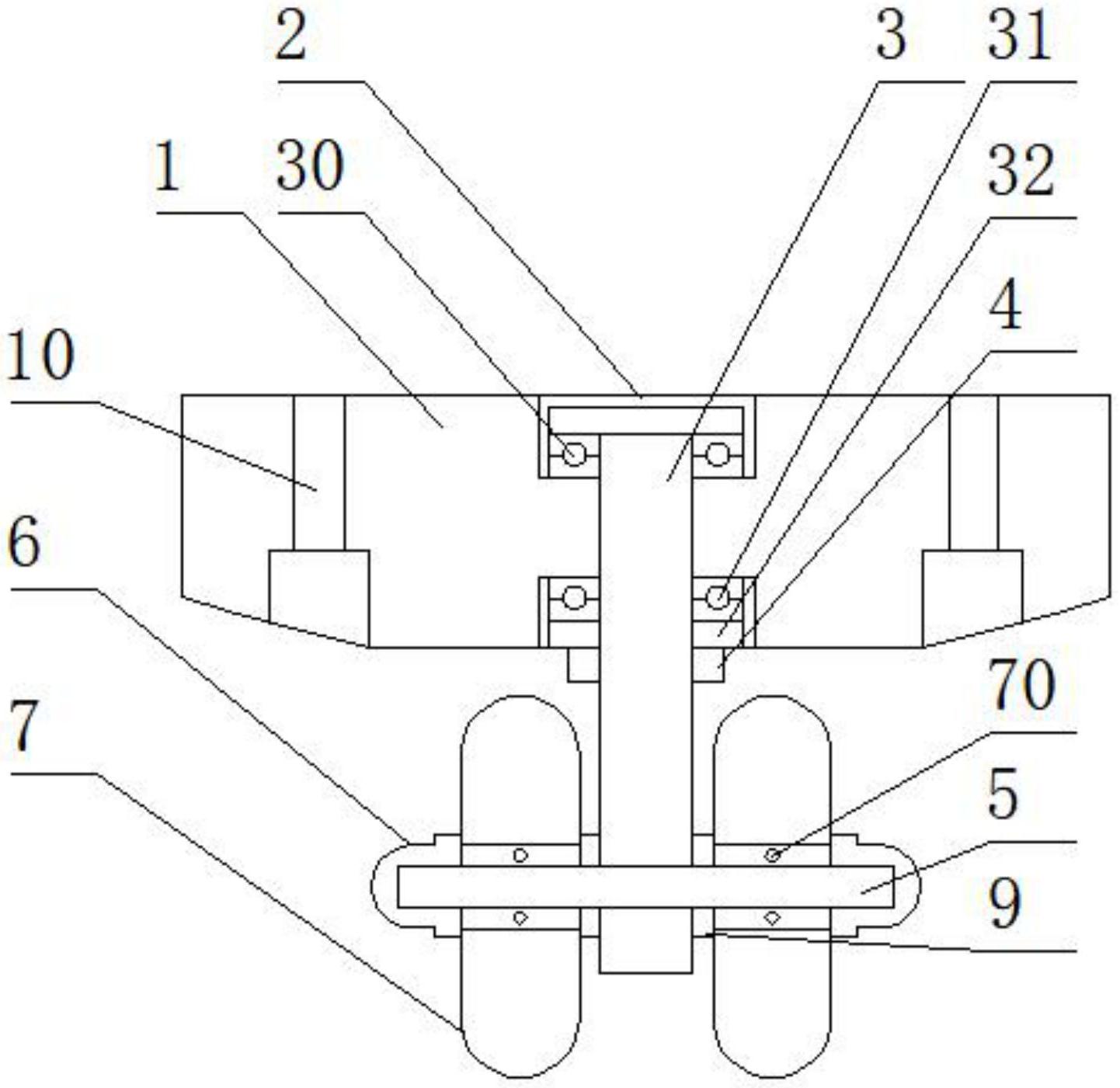
摘要
本实用新型公开了一种硬质旅行箱轮子,包括支撑座,所述支撑座的中端处上下表面开设有工形口,所述支撑座的工形口处穿插有T形销,所述T形销上端套接有第一平面推力轴承,所述T形销的下端外表面套接有第二平面推力轴承和第一垫片,所述T形销的下端外表面开设螺纹连接有第一螺母,所述第一螺母锁紧第一垫片,所述T形销的下端表面开设有穿插孔,所述T形销的穿插孔处穿插有定位销,所述定位销外套接有轮子,所述定位销两端开设螺纹连接有第二螺母,轮体组件通过穿插连接,其各个部件均可独立更换,使用方便,并且双重平面推力轴承设计,其在垂直支撑时便于支撑旋转,提高垂直支撑力。


