授权公布号:CN217099548U
一种可限制移动能力的箱包轮
有效
申请
2022-03-10
申请公布
1970-01-01
授权
2022-08-02
预估到期
2032-03-10
| 申请号 | CN202220530608.5 |
| 申请日 | 2022-03-10 |
| 授权公布号 | CN217099548U |
| 授权公告日 | 2022-08-02 |
| 分类号 | B60B33/00;A45C13/00;A45C5/14 |
| 分类 | 一般车辆; |
| 申请人名称 | 浙江鸿一箱包皮件有限公司 |
| 申请人地址 | 浙江省温州市瑞安市仙降街道时尚箱包园区 |
专利法律状态
2022-08-02
授权
状态信息
授权
摘要
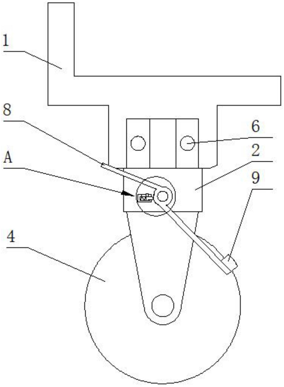
本实用新型公开了一种可限制移动能力的箱包轮,包括基座,所述基座的下端凸口内设置轴承连接有凸座,所述凸座的下表面设置有滚轮,所述凸座外表面两侧设置凸轴,所述凸轴外铰接有方框,所述方框的一端内侧表面固定有弯曲片,所述弯曲片下表面贴合在滚轮的外表面,所述方框的另一端上表面翘起贴合在基座的下端凸口处下表面,所述凸轴外表面设置扭簧,所述扭簧扭动方框,设置跷跷板结构的限位组件,其下垂一端可对滚轮摩擦限位,上翘一端可对旋转轴进行摩擦限位,不会旋转,可一起制动,限位后轮子不可滚动,同时不可水平旋转,增加稳定,使用方便。


