授权公布号:CN216860565U
一种便于出料的箱包类成型吸塑机
有效
申请
2022-02-14
申请公布
1970-01-01
授权
2022-07-01
预估到期
2032-02-14
| 申请号 | CN202220295407.1 |
| 申请日 | 2022-02-14 |
| 授权公布号 | CN216860565U |
| 授权公告日 | 2022-07-01 |
| 分类号 | B29C51/26;B29C51/42;B29C51/36;B29C51/10;B01D46/12 |
| 分类 | 塑料的加工;一般处于塑性状态物质的加工; |
| 申请人名称 | 浙江鸿一箱包皮件有限公司 |
| 申请人地址 | 浙江省温州市瑞安市仙降街道时尚箱包园区 |
专利法律状态
2022-07-01
授权
状态信息
授权
摘要
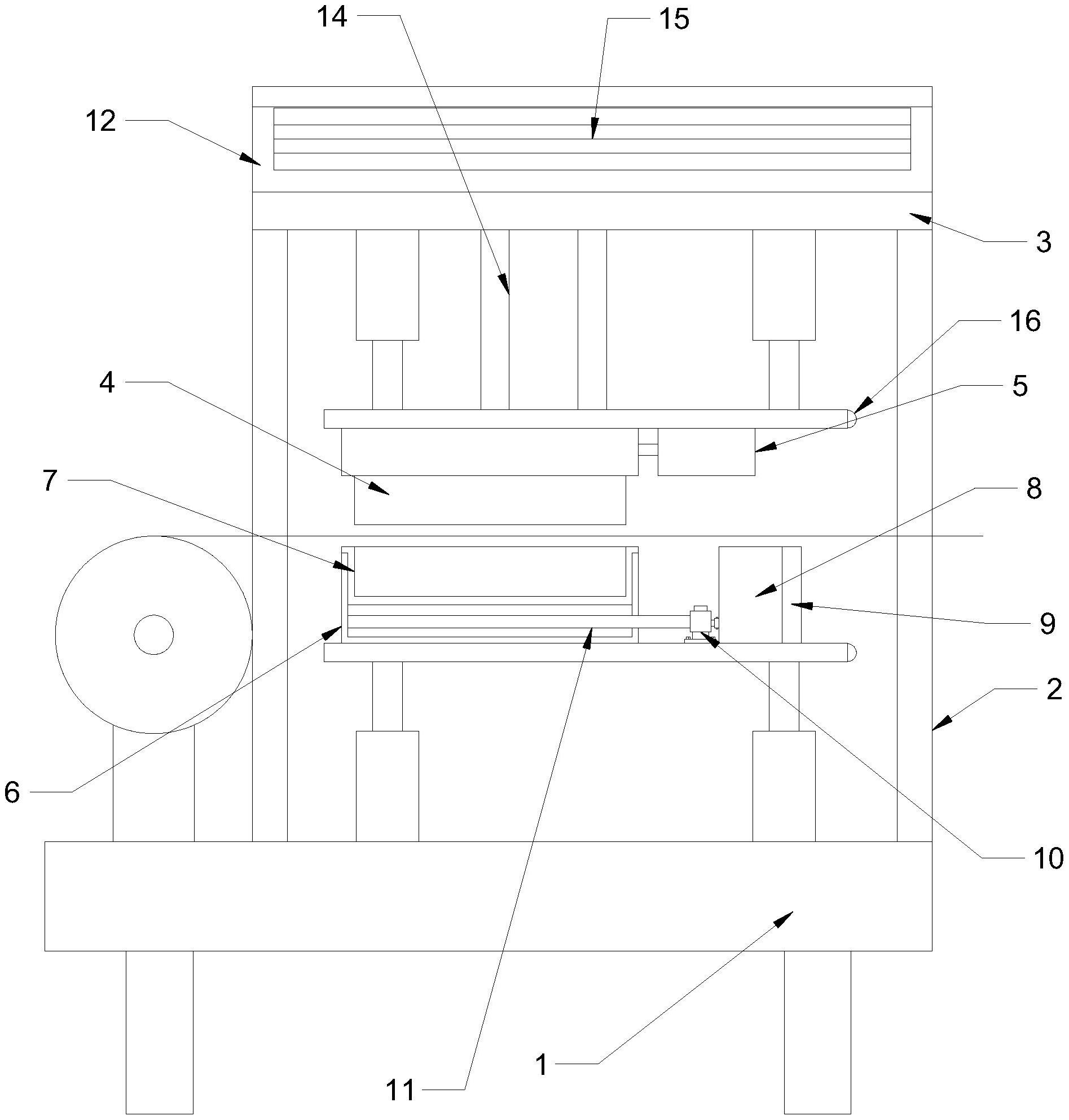
本实用新型涉及吸塑机技术领域,具体为一种便于出料的箱包类成型吸塑机,包括工作台、支撑组件、送料组件、升降组件、吸塑组件、下模组件和降温组件,所述工作台上一端设置有所述送料组件,所述工作台上另一端设置有所述支撑组件,所述支撑组件包括支架和顶梁,所述升降组件设置为两组对称布置,该便于出料的箱包类成型吸塑机,送料组件进行送料,启动升降组件,两组升降组件上分别设置有吸塑组件和下模组件,方便对物料进行吸塑成型,升降组件上设置有位置传感器,方便精确控制升降组件上升与下降,成型后的物料,启动制冷器和循环泵,循环泵将冷水箱内的冷介质送入冷循环管,冷介质在冷循环管输出端返回冷水箱内,方便提供降温保护。


