授权公布号:CN218304027U
一种学生床用可移动床上柜
有效
申请
2022-07-08
申请公布
1970-01-01
授权
2023-01-17
预估到期
2032-07-08
| 申请号 | CN202221752903.1 |
| 申请日 | 2022-07-08 |
| 授权公布号 | CN218304027U |
| 授权公告日 | 2023-01-17 |
| 分类号 | A47B81/00;A47B91/06;A47B97/00;F21V33/00;F21V21/32 |
| 分类 | 家具;家庭用的物品或设备;咖啡磨;香料磨;一般吸尘器; |
| 申请人名称 | 科凡家居股份有限公司 |
| 申请人地址 | 广东省佛山市顺德区北滘镇三洪奇三乐路北侧工业区六仓(三洪奇工业区第一路尾) |
专利法律状态
2023-01-17
授权
状态信息
授权
摘要
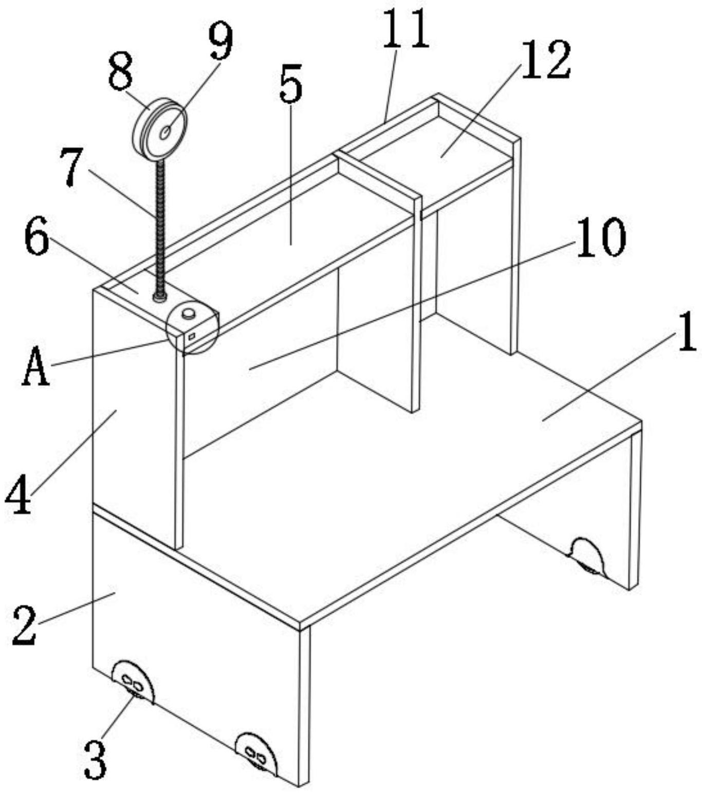
本实用新型涉及家具技术领域,且公开了一种学生床用可移动床上柜,包括台面,所述台面底部的两侧均栓接有第一侧板,所述第一侧板的底部栓接有两个定向轮,所述台面的顶部栓接有三个第二侧板,所述台面的顶部设置有第一层板,所述第一层板的两侧分别第二侧板栓接,所述第一层板的顶部栓接有蓄电池,所述蓄电池的顶部安装有万向调节管;本实用新型通过定向轮在床上来回移动,且定向轮具有自锁功能,同时通过蓄电池对灯珠进行供电,方便学生在夜间读书,该装置简化了柜体的结构,使生产流程简化,制作简单,节约了生产时间,有效提高生产效率,该装置使用三合一连接件进行栓接,安装牢固,不易松动。


