授权公布号:CN216690731U
一种应用于铰链的铰杯座
有效
申请
2021-11-26
申请公布
1970-01-01
授权
2022-06-07
预估到期
2031-11-26
| 申请号 | CN202122941849.7 |
| 申请日 | 2021-11-26 |
| 授权公布号 | CN216690731U |
| 授权公告日 | 2022-06-07 |
| 分类号 | E05D5/02 |
| 分类 | 锁;钥匙;门窗零件;保险箱; |
| 申请人名称 | 广东尚诚智能家居有限公司 |
| 申请人地址 | 广东省江门市鹤山市共和镇玉堂路4号之三 |
专利法律状态
2022-06-07
授权
状态信息
授权
摘要
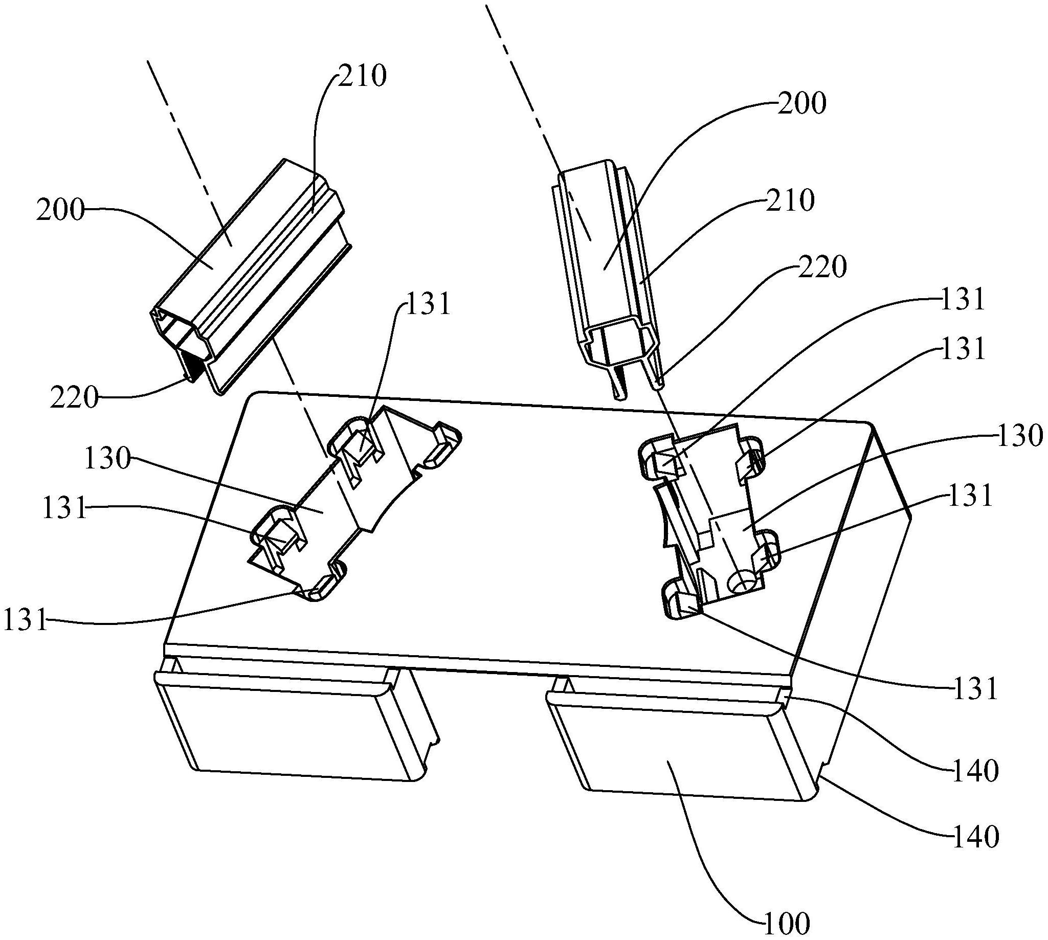
本实用新型公开了一种应用于铰链的铰杯座,包括:铰杯座主体,所述铰杯座主体的前侧表面开设有容纳腔及两个安装部,所述容纳腔表面敞口且位于两个所述安装部之间,每个所述安装部上开设有一个以上的安装孔;所述铰杯座主体的内部或后侧与两个所述安装部相对应的位置处均设置有一个金属连接件。通过在铰杯座主体的内部或后侧与两个安装部相对应的位置处均设置有一个金属连接件,使得铰链安装于铰杯座上时,螺丝穿过安装部上的安装孔后能够与金属连接件相连接,从而使得铰链牢固地安装于铰杯座,大大地增加了铰杯座的连接结构强度。


