授权公布号:CN209003451U
一种可拆洗的直饮杯盖子
有效
申请
2018-05-09
申请公布
1970-01-01
授权
2019-06-21
预估到期
2028-05-09
| 申请号 | CN201820685901.2 |
| 申请日 | 2018-05-09 |
| 授权公布号 | CN209003451U |
| 授权公告日 | 2019-06-21 |
| 分类号 | A47G19/22 |
| 分类 | 家具;家庭用的物品或设备;咖啡磨;香料磨;一般吸尘器; |
| 申请人名称 | 广东中宝炊具制品有限公司 |
| 申请人地址 | 广东省揭阳市揭东县揭东试验区3号路东段 |
专利法律状态
2019-06-21
授权
状态信息
授权
摘要
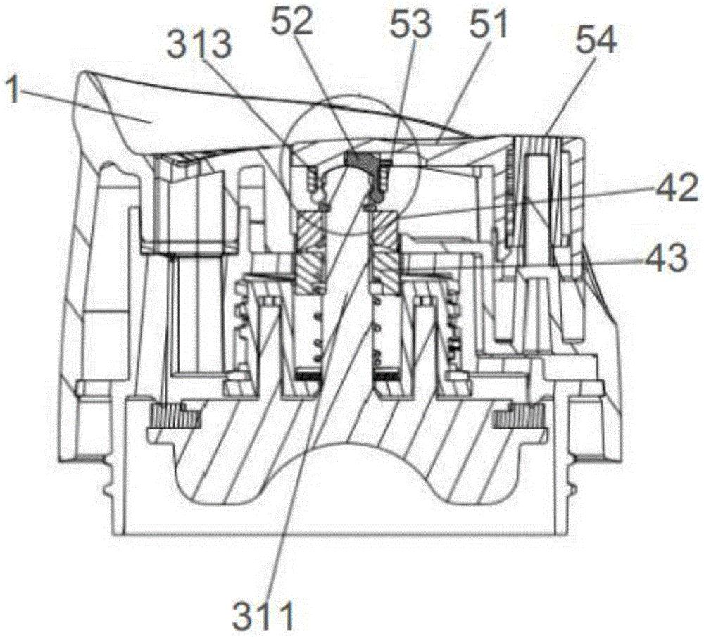
本实用新型公开了一种可拆洗的直饮杯盖子,包括上盖、下盖及与上下盖可拆卸连接的开关组件,上盖与下盖扣合连接,开关组件包括旋钮组件、按键帽复位组件及按键帽组件,按键帽复位组件设置于旋钮组件上端,旋钮组件螺纹旋入所述下盖内,按键帽组件设置于上盖内。本实用新型开关组件与上盖、下盖可拆卸,使整个盖子无清理死角,方便用户日常清洗,防止盖子藏污纳垢、滋养细菌。


