授权公布号:CN216628320U
一种厨具组合式收纳架
有效
申请
2021-12-21
申请公布
1970-01-01
授权
2022-05-31
预估到期
2031-12-21
| 申请号 | CN202123227591.0 |
| 申请日 | 2021-12-21 |
| 授权公布号 | CN216628320U |
| 授权公告日 | 2022-05-31 |
| 分类号 | A47J47/16 |
| 分类 | 家具;家庭用的物品或设备;咖啡磨;香料磨;一般吸尘器; |
| 申请人名称 | 广州美厨智能家居科技股份有限公司 |
| 申请人地址 | 广东省广州市番禺区大石街石北工业路684号(巨大创意产业园)12栋1211 |
专利法律状态
2022-05-31
授权
状态信息
授权
摘要
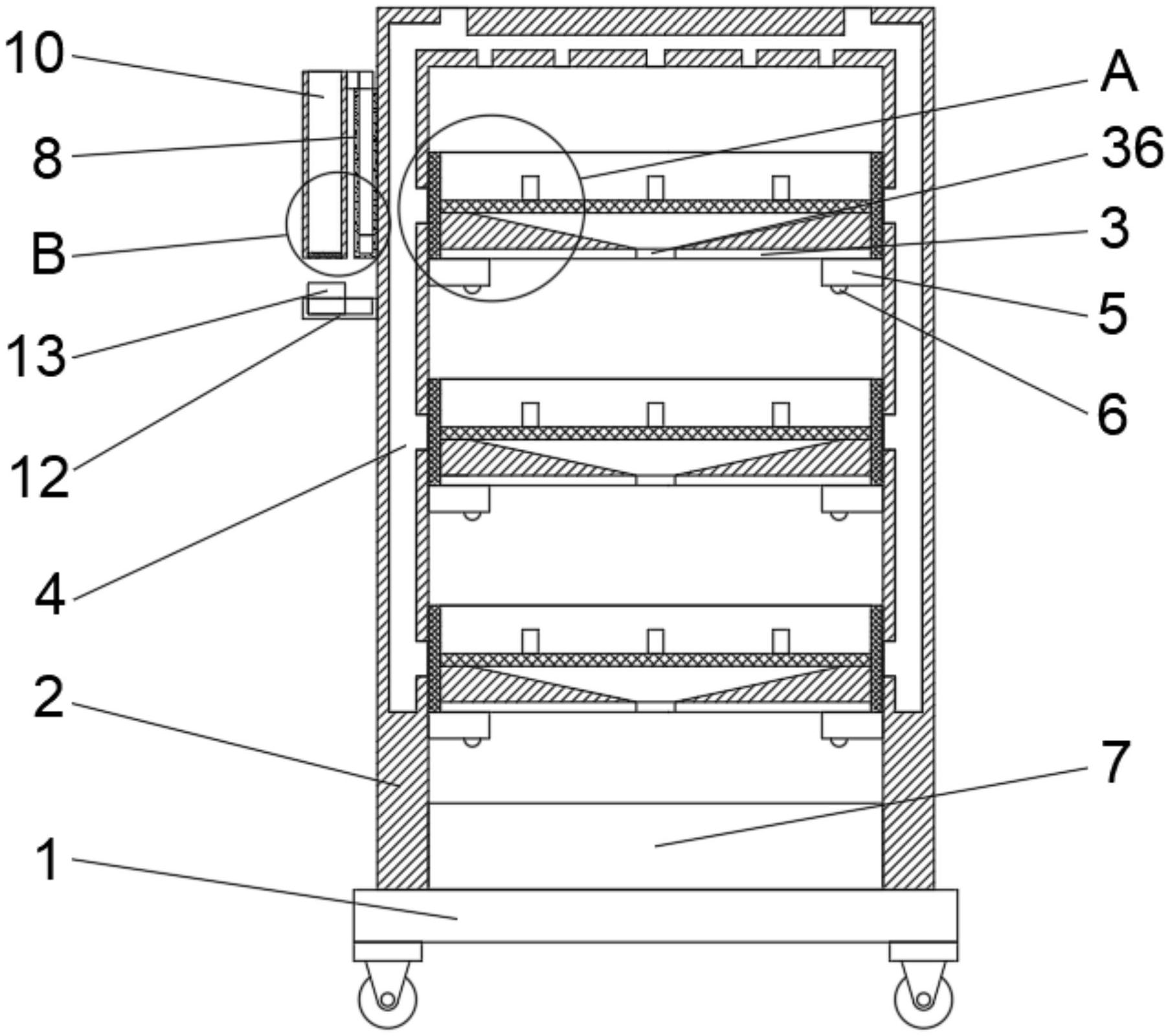
本实用新型属于厨具收纳架技术领域,具体涉及一种厨具组合式收纳架,包括底座,所述底座的顶部固定设置有n型框架,所述n型框架的两侧内壁上对称固定设置有若干个固定板,对应的两个固定板之间设置有收纳装置,所述收纳装置包括第一收纳盒,所述第一收纳盒滑动设置在固定板上,所述第一收纳盒的内底部对称固定设置有梯形导流块。通过第一收纳盒将清洗后的厨具放置在第一网板上,第一网板活动设置在第一收纳盒内,拉动分隔板即可将第一网板抽出,方便对第一网板进行清洗,放置在第一网板上的厨具未擦干的水会从第一网板掉落至梯形导流块上,因为梯形导流块是倾斜的,方便水滑落,防止过多的水残留在第一收纳盒内导致餐具变潮。


