授权公布号:CN213036495U
一种带有竹材密封盖的密封盒
有效
申请
2020-09-07
申请公布
1970-01-01
授权
2021-04-23
预估到期
2030-09-07
| 申请号 | CN202021936146.4 |
| 申请日 | 2020-09-07 |
| 授权公布号 | CN213036495U |
| 授权公告日 | 2021-04-23 |
| 分类号 | B65D55/02;B65D81/26;B65D85/50 |
| 分类 | 输送;包装;贮存;搬运薄的或细丝状材料; |
| 申请人名称 | 浙江利众竹木有限公司 |
| 申请人地址 | 浙江省温州市泰顺县司前镇台边村景泰北路38号 |
专利法律状态
2021-04-23
授权
状态信息
授权
摘要
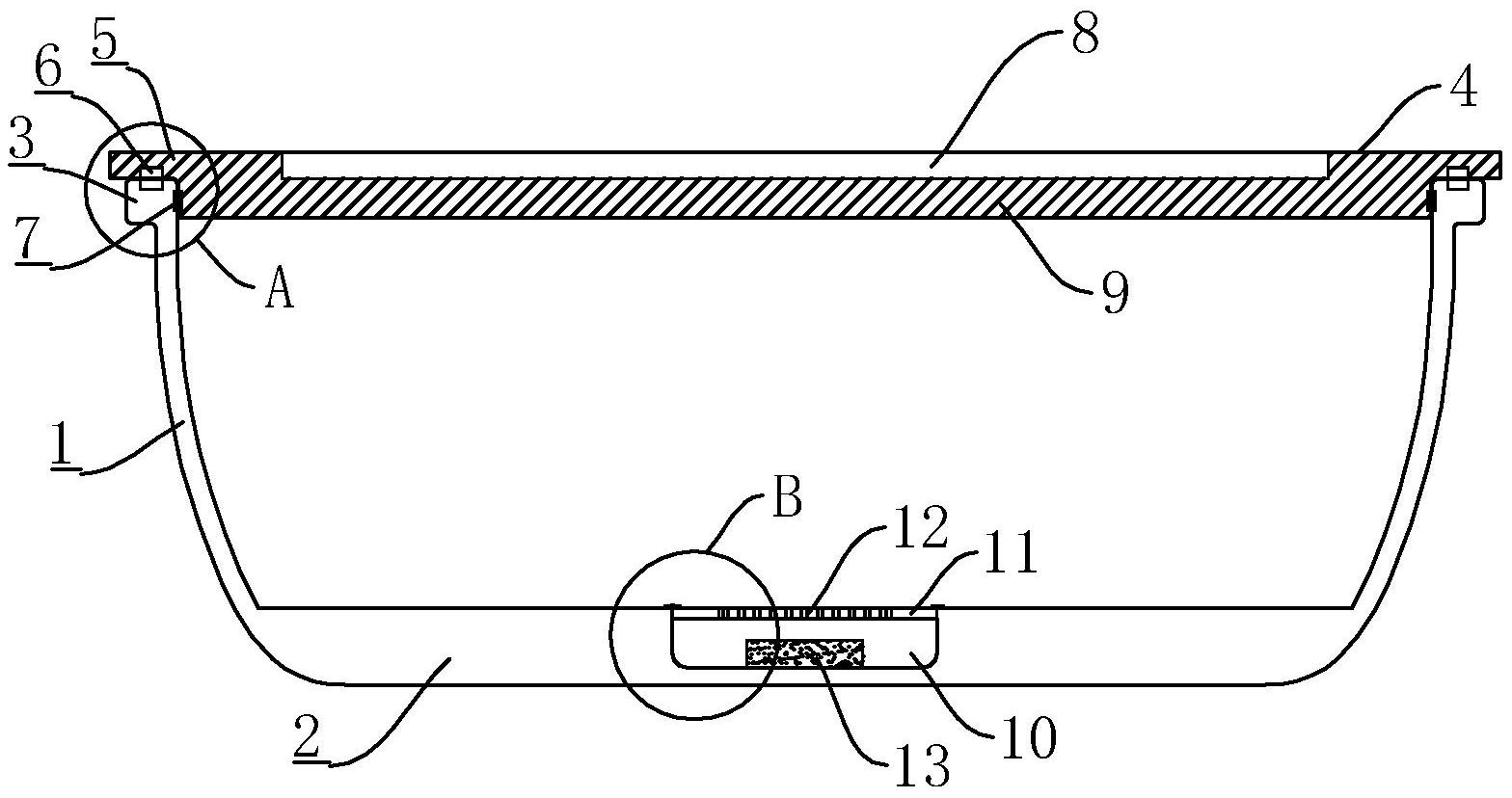
本实用新型涉及密封盒技术领域,尤其是一种带有竹材密封盖的密封盒,包括储存盒,所述储存盒底部固定安装有一体结构的盒底,所述储存盒上端外侧固定安装有一体结构的边沿,所述储存盒上端盖设有盒盖,所述盒盖上端面开设有凹槽,所述盒盖下端面固定安装有一体结构的盖底,所述盖底表面的高度低于所述边沿表面的高度,所述盒盖外侧固定安装有一体结构的固定凸缘,所述固定凸缘贴合设置于所述边沿上方,该密封盒使用效果好,值得推广。


