授权公布号:CN206216883U
一种自动化陶瓷釉印花机
有效
申请
2016-11-24
申请公布
1970-01-01
授权
2017-06-06
预估到期
2026-11-24
| 申请号 | CN201621265544.1 |
| 申请日 | 2016-11-24 |
| 授权公布号 | CN206216883U |
| 授权公告日 | 2017-06-06 |
| 分类号 | B28B11/04;B44C1/24 |
| 分类 | 加工水泥、黏土或石料; |
| 申请人名称 | 伟业陶瓷有限公司 |
| 申请人地址 | 广东省潮州市枫溪区如意路工业园F1地块 |
专利法律状态
2017-06-06
授权
状态信息
授权
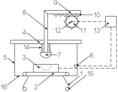
摘要
本实用新型公开一种自动化陶瓷釉印花机。该釉印花机包括传送带、陶瓷支撑凹面、顶部支板、支撑架、检测口、硅酮胶头、硅酮胶头连接杠、推拉杠、齿状结构、齿轮、电机、控制器、弹簧和底板;所述传送带位于底板上,所述传送带上方设置有陶瓷支撑凹面;所述陶瓷支撑凹面分为左右两个半体;所述硅酮胶头由硅酮胶头层和连接层组成;且硅酮胶头层设置于连接层外表面;所述硅酮胶头连接杠的一端与推拉杠接触,且推拉杠下表面设置有齿状结构,齿状结构与齿轮配合;所述齿轮由电机控制。本实用新型产品实现较高程度的自动化要求,且结构相对简单,可大规模实现工业化应用的需求。


