授权公布号:CN218166806U
一种便于清洁的陶瓷加工搅拌装置
有效
申请
2022-06-30
申请公布
1970-01-01
授权
2022-12-30
预估到期
2032-06-30
| 申请号 | CN202221689679.6 |
| 申请日 | 2022-06-30 |
| 授权公布号 | CN218166806U |
| 授权公告日 | 2022-12-30 |
| 分类号 | B01F31/44;B01F35/12 |
| 分类 | 一般的物理或化学的方法或装置; |
| 申请人名称 | 山东银凤股份有限公司 |
| 申请人地址 | 山东省临沂市罗庄区罗四路502号 |
专利法律状态
2022-12-30
授权
状态信息
授权
摘要
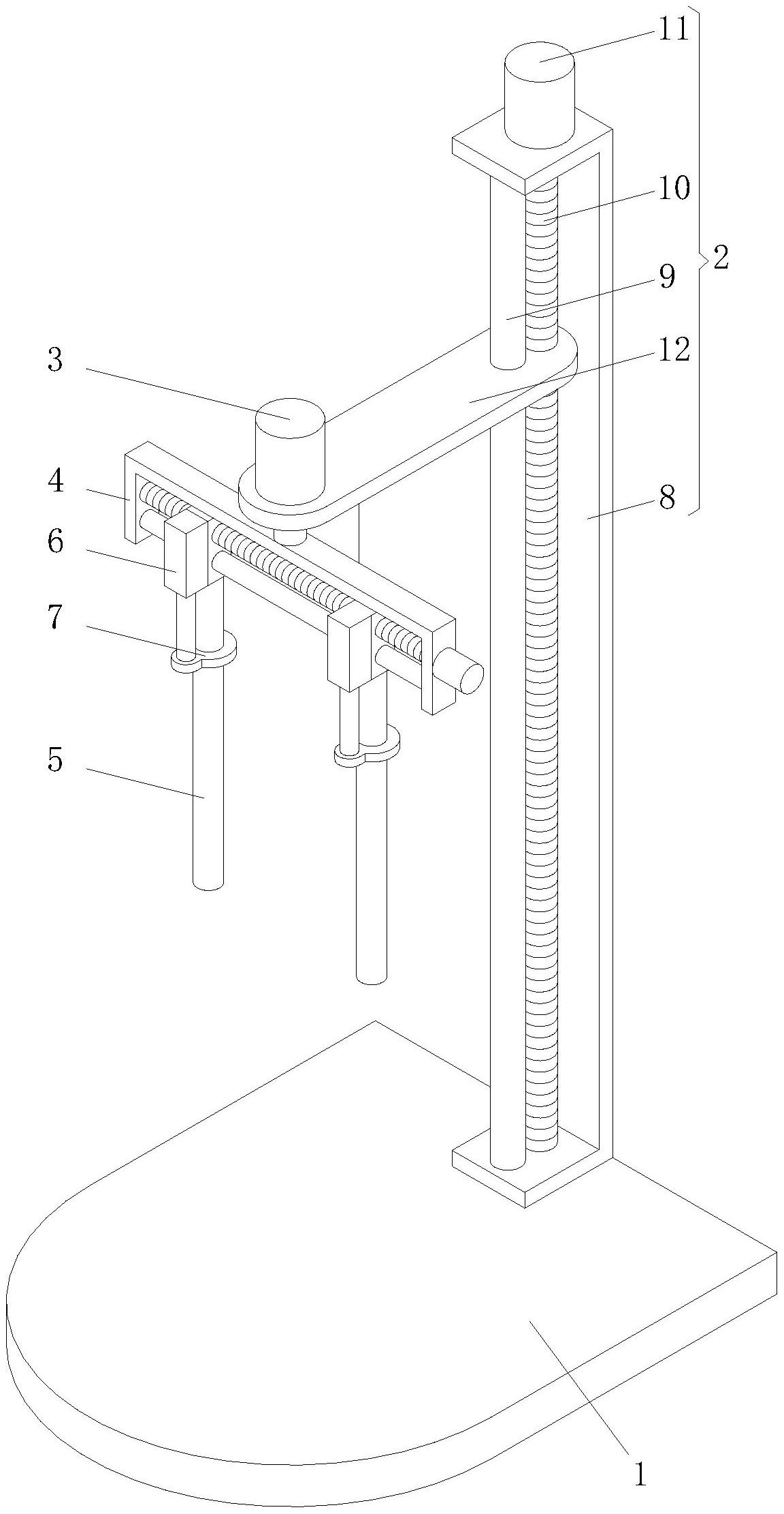
本实用新型公开了种便于清洁的陶瓷加工搅拌装置,包括有底座,所述底座上安装有升降机构,所述升降机构上安装有第一电机,所述第一电机的输出端轴接有调节机构,所述调节机构上安装有对称设置的两个搅拌杆和电动推杆,所述搅拌杆的外壁滑动穿接有刮板,本实用新型涉及陶瓷加工技术领域。本实用新型,解决用于陶瓷加工搅拌的搅拌杆通常在转轴上设置多个横杆作为搅拌机的搅拌杆,多个横杆上粘附的原料难易清理的问题。


