授权公布号:CN218170764U
一种陶瓷餐具成型用旋转台
有效
申请
2022-08-22
申请公布
1970-01-01
授权
2022-12-30
预估到期
2032-08-22
| 申请号 | CN202222202543.4 |
| 申请日 | 2022-08-22 |
| 授权公布号 | CN218170764U |
| 授权公告日 | 2022-12-30 |
| 分类号 | B28B1/02 |
| 分类 | 加工水泥、黏土或石料; |
| 申请人名称 | 山东银凤股份有限公司 |
| 申请人地址 | 山东省临沂市罗庄区罗四路502号 |
专利法律状态
2022-12-30
授权
状态信息
授权
摘要
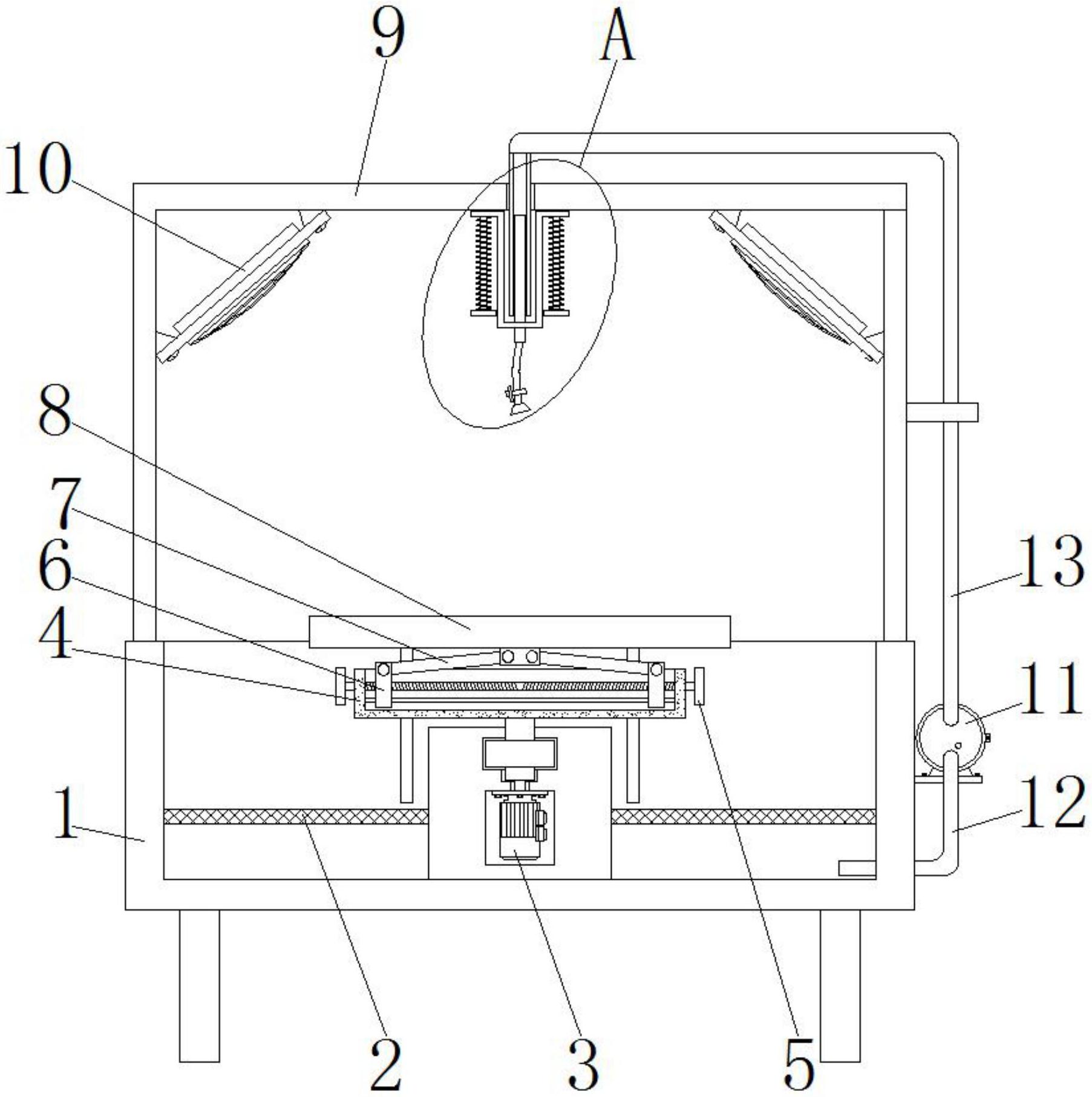
本实用新型公开了一种陶瓷餐具成型用旋转台,包括:基座,所述基座的内部开设有空腔,且基座的内部设置有过滤板;台板,所述台板呈圆柱状结构上下滑动安装于连接板的内部;固定架,所述固定架焊接连接于基座的顶部;风扇,所述固定架的左右两侧均倾斜设置有风扇;水泵,所述水泵安装于基座的右侧,所述基座的内部垂直安装有马达,且马达的输出端固定连接有连接板;其中,所述连接板通过轴承旋转安装于基座的内部,所述连接板的内部旋转安装有外表面呈双向螺纹状结构的轴杆。该陶瓷餐具成型用旋转台,便于根据使用需求对旋转台高度进行调节,而且不便于对不同位置的陶泥进行洒水,同时陶泥干燥成型速度较慢。


