授权公布号:CN215539778U
一种烟气脱硫喷淋装置
有效
申请
2021-07-26
申请公布
1970-01-01
授权
2022-01-18
预估到期
2031-07-26
| 申请号 | CN202121701919.5 |
| 申请日 | 2021-07-26 |
| 授权公布号 | CN215539778U |
| 授权公告日 | 2022-01-18 |
| 分类号 | B01D53/78;B01D53/48 |
| 分类 | 一般的物理或化学的方法或装置; |
| 申请人名称 | 山东黑山玻璃集团有限公司 |
| 申请人地址 | 山东省淄博市博山区八陡黑山前384号 |
专利法律状态
2022-01-18
授权
状态信息
授权
摘要
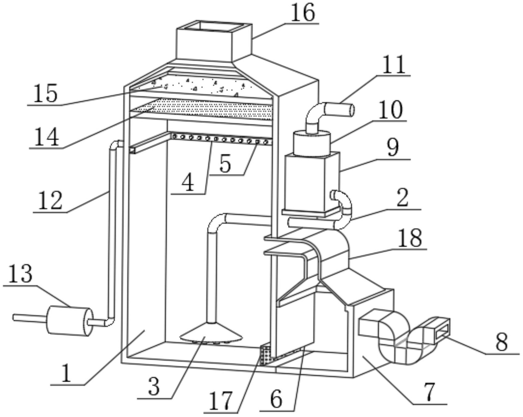
本实用新型涉及脱硫喷淋装置技术领域,具体为一种烟气脱硫喷淋装置,包括脱硫罐,所述脱硫罐的一侧面上固定连接有输气管,所述输气管贯穿至脱硫罐内部的一端固定连接有散气板,所述脱硫罐的内壁固定连接有分流管,所述分流管的内侧固定连接有若干个雾化喷头,所述脱硫罐一侧的底部开设有泄流槽,所述脱硫罐一侧底部与泄流槽对应的位置固定连接有溢流箱。本实用新型的优点在于:进入到脱硫罐内的烟气会与碱性液发生两次反应,使烟气与碱性液有足够的反应时间,具备更佳的脱硫效果,脱硫的结构简单,不易损,实用性强,使充分反应后的碱性液可直接排出,未充分反应的碱性液则在脱硫罐内继续发生反应,无需定期更换碱性液,可不间断的工作。


