授权公布号:CN216935417U
一种高效节能脱硫脱硝除尘系统
有效
申请
2022-03-25
申请公布
1970-01-01
授权
2022-07-12
预估到期
2032-03-25
| 申请号 | CN202220680073.X |
| 申请日 | 2022-03-25 |
| 授权公布号 | CN216935417U |
| 授权公告日 | 2022-07-12 |
| 分类号 | B01D53/56;B01D53/79 |
| 分类 | 一般的物理或化学的方法或装置; |
| 申请人名称 | 山东黑山玻璃集团有限公司 |
| 申请人地址 | 山东省淄博市博山区八陡黑山前384号 |
专利法律状态
2022-07-12
授权
状态信息
授权
摘要
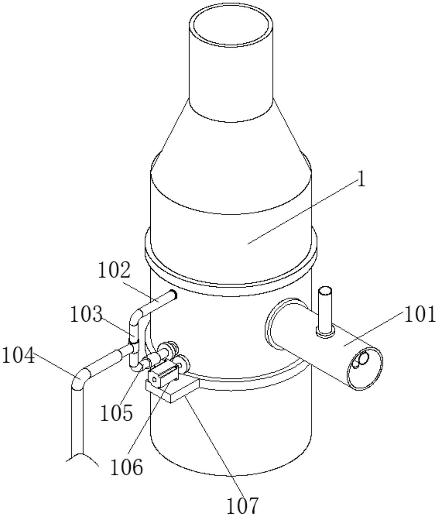
本实用新型公开了一种高效节能脱硫脱硝除尘系统,包括依次用管路连接的脱硫装置、除尘装置和脱硝装置,脱硫装置底部与进烟气管连接,脱硝装置内部的喷淋管与外部的氨水罐连接,脱硝装置的塔体中部外壁贯通固定安装有进气管,塔体的中部另一侧外壁分别安装有主喷淋管和副喷淋管,主喷淋管和副喷淋管一端通过三通接头连接安装,通过设置的齿轮A、齿轮B、副喷淋管,在使用时由于副喷淋管通过密封旋转接头与三通接头的底部转动连接,因此驱动电机通过齿轮A和齿轮B,可以带动副喷淋管实现转动,较传统结构相比,该装置可以调整浆液的喷洒效果,提高脱硝效果。


