授权公布号:CN216123907U
一种具有支撑性的轻便运动鞋及运动鞋底
有效
申请
2021-07-26
申请公布
1970-01-01
授权
2022-03-25
预估到期
2031-07-26
| 申请号 | CN202121696708.7 |
| 申请日 | 2021-07-26 |
| 授权公布号 | CN216123907U |
| 授权公告日 | 2022-03-25 |
| 分类号 | A43B5/00;A43B13/14;A43B13/12;A43B13/22;A43B13/18;A43B23/02 |
| 分类 | 鞋类; |
| 申请人名称 | 中乔体育股份有限公司 |
| 申请人地址 | 福建省厦门市陈埭溪边工业区 |
专利法律状态
2022-03-25
授权
状态信息
授权
摘要
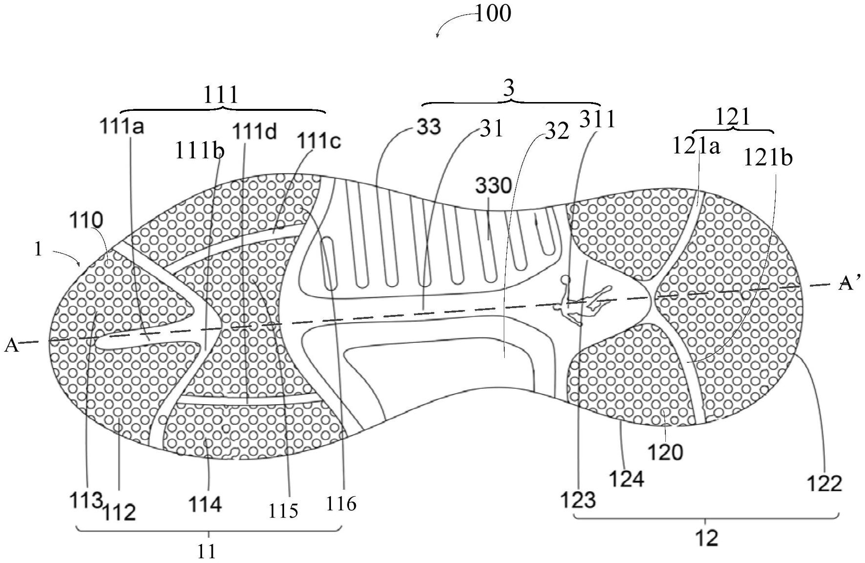
本实用新型公开了一种具有支撑性的轻便运动鞋及运动鞋底,其中,所述运动鞋底包括大底、中底和支撑部,大底包括对应覆盖前脚掌、后跟区域设置的、且触地面矩阵分布若干个圆柱形凸块的两个大底部分;支撑部包括对应足弓内外侧区域设置的两个支撑部件以及位于两个支撑部件之间的中轴部件;两个大底部分通过全部/部分填充加强带的分隔带划分出若干个防滑区域。通过本实用新型,通过分隔带将大底模块化、并在足弓区域设置支撑部,能够提供良好的支撑性能以及较轻的穿着体验。


