授权公布号:CN216875233U
一种轻便运动鞋及运动鞋底
有效
申请
2021-07-28
申请公布
1970-01-01
授权
2022-07-05
预估到期
2031-07-28
| 申请号 | CN202121735362.7 |
| 申请日 | 2021-07-28 |
| 授权公布号 | CN216875233U |
| 授权公告日 | 2022-07-05 |
| 分类号 | A43B5/00;A43B13/14;A43B13/12;A43B13/18;A43B13/22;A43B23/02 |
| 分类 | 鞋类; |
| 申请人名称 | 中乔体育股份有限公司 |
| 申请人地址 | 福建省厦门市陈埭溪边工业区 |
专利法律状态
2022-07-05
授权
状态信息
授权
摘要
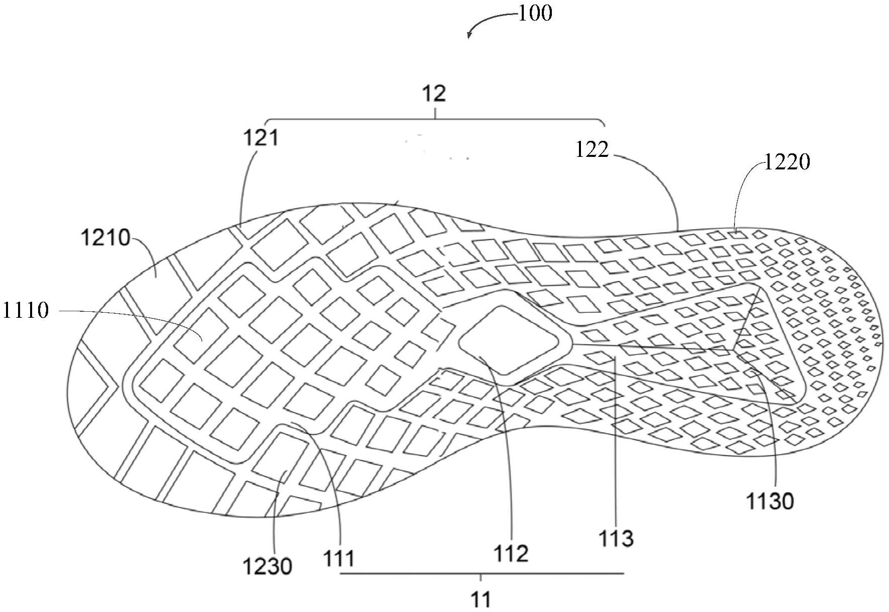
本实用新型公开了一种轻便运动鞋及运动鞋底,其中,所述运动鞋底包括大底和中底,大底包括一体成型的第一凹槽和防滑部;第一凹槽包括对应覆盖大底前脚掌、足弓以及后跟区域的第一、二、三凹槽区域;第一凹槽区域的触地面设置若干个防滑凸起,第三凹槽区域的触地面设置若干个凹槽;防滑部环绕第一凹槽设置,包括第一、二防滑区域,第一防滑区域的触地面设置若干个第一防滑凸起,第二防滑区域的触地面设置若干个凹槽。通过本实用新型,在鞋底提供足够摩擦力和支撑性能的同时,最大程度地减轻鞋底重量,提高运动鞋的舒适性与轻便性。


