授权公布号:CN214283578U
一种高弹性运动鞋及运动鞋底
有效
申请
2020-11-10
申请公布
1970-01-01
授权
2021-09-28
预估到期
2030-11-10
| 申请号 | CN202022572834.3 |
| 申请日 | 2020-11-10 |
| 授权公布号 | CN214283578U |
| 授权公告日 | 2021-09-28 |
| 分类号 | A43B5/00;A43B13/14;A43B13/22;A43B13/20 |
| 分类 | 鞋类; |
| 申请人名称 | 中乔体育股份有限公司 |
| 申请人地址 | 福建省厦门市陈埭溪边工业区 |
专利法律状态
2021-09-28
授权
状态信息
授权
摘要
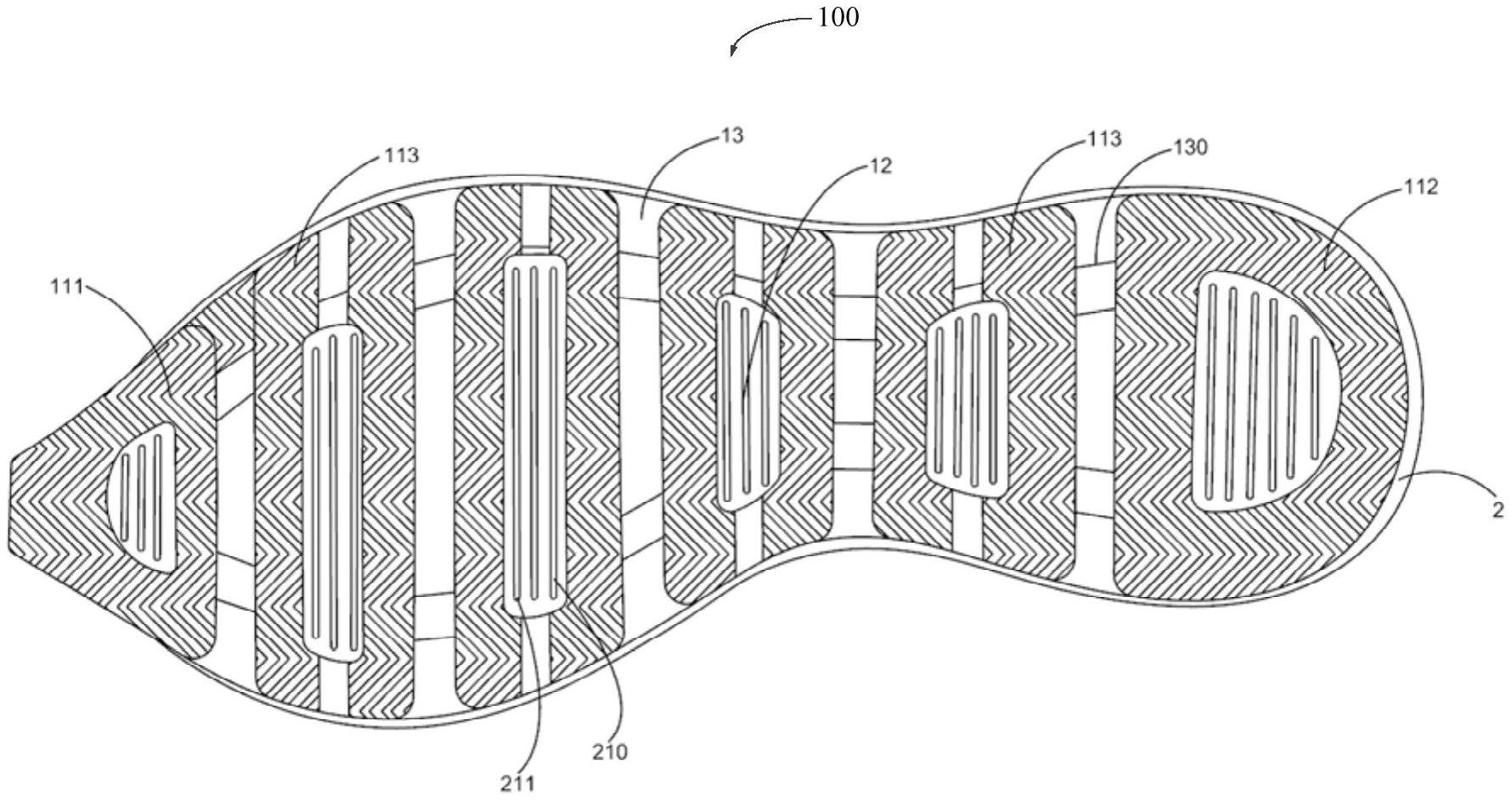
本实用新型公开了一种高弹性运动鞋及运动鞋底,包括大底和中底,中底包括一体成型的气垫结构的下层底;大底包括若干个具有防滑纹理的防滑部、若干个开设在大底上镂空的第一凹槽、以及若干个设置在大底上的第二凹槽;防滑部由覆盖前脚掌的脚尖区域的半圆形第一防滑区域、覆盖后脚掌的后侧边缘区域的半圆形第二防滑区域、以及若干个长方形的第三防滑区域,相邻两个防滑区域之间间隔预设距离以设置一第二凹槽;第一凹槽开设在第二防滑区域的中心,且第一凹槽与第二防滑区域的形状轮廓一致。通过本实用新型,能够确保运动员在做各种脚部动作时提供足够的摩擦力的同时,增加鞋底弹性。


