授权公布号:CN206485116U
一种茶具木雕装置
有效
申请
2017-01-23
申请公布
1970-01-01
授权
2017-09-12
预估到期
2027-01-23
| 申请号 | CN201720098202.3 |
| 申请日 | 2017-01-23 |
| 授权公布号 | CN206485116U |
| 授权公告日 | 2017-09-12 |
| 分类号 | B44B1/00;B44B1/06;B44B3/00;B44B3/06 |
| 分类 | 装饰艺术; |
| 申请人名称 | 浙江汉唐茶文化有限公司 |
| 申请人地址 | 浙江省台州市黄岩院桥合屿工业区 |
专利法律状态
2017-09-12
授权
状态信息
授权
摘要
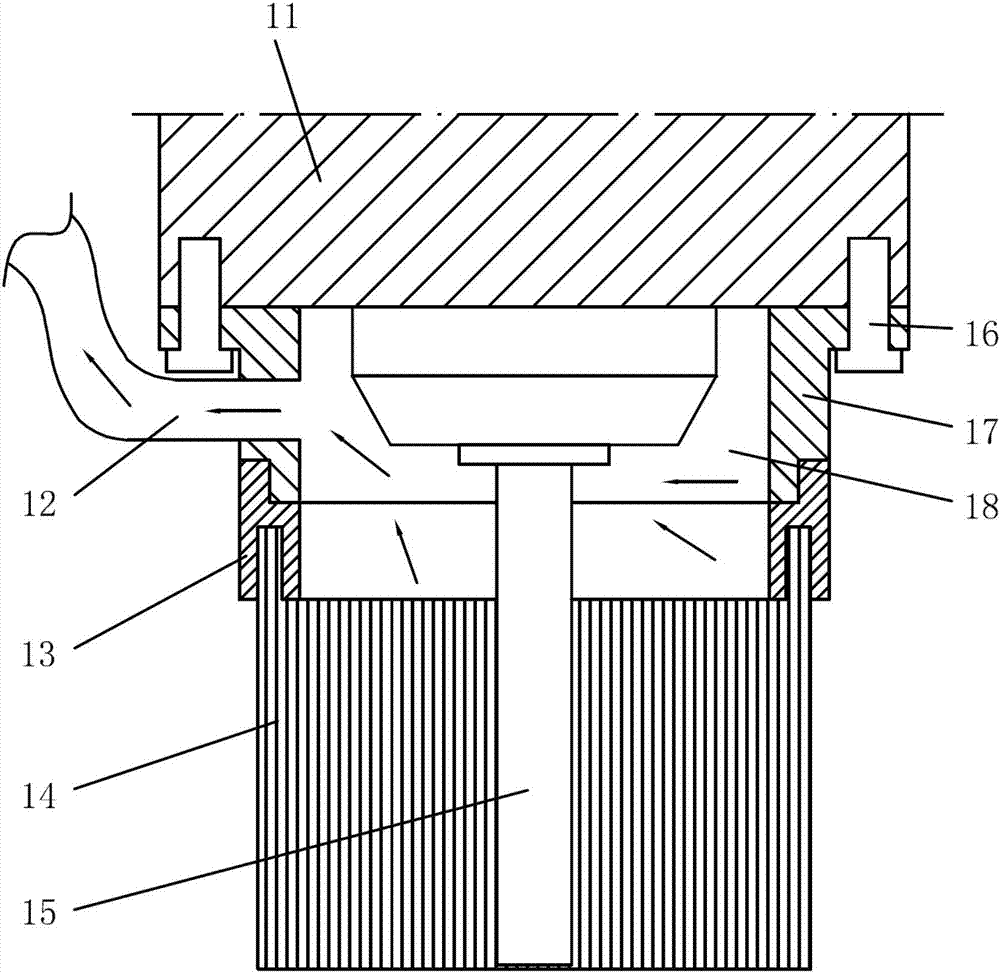
本实用新型属于茶具加工车间粉尘领域,特指一种茶具木雕装置,包括底座,所述底座的后部设置有龙门架,龙门架上设置有动力头,所述动力头外壳的下端安装有定位环,定位环套装在雕刻刀具上;定位环的侧壁上开设有吸尘通道,定位环内部形成负压腔;所述定位环的下端螺接有下环套,下环套的下端面上伸出有一圈刷毛。本实用新型直接将吸尘通道设置在动力头上,使得吸尘效果达到最佳;刷毛较为柔软,雕刻刀具在木材上沿设定轨迹行走时,刷毛能够较好的贴合在木材表面,刷毛能够刷去木材表面的木尘,从而使得雕刻更为方便,不易损坏;而且,定位环内部能够更好的形成负压腔,使得吸尘效果更好。


