授权公布号:CN213011103U
一种成卷切割机的定长装置
有效
申请
2020-08-24
申请公布
1970-01-01
授权
2021-04-20
预估到期
2030-08-24
| 申请号 | CN202021773464.3 |
| 申请日 | 2020-08-24 |
| 授权公布号 | CN213011103U |
| 授权公告日 | 2021-04-20 |
| 分类号 | B65H26/00 |
| 分类 | 输送;包装;贮存;搬运薄的或细丝状材料; |
| 申请人名称 | 福建佳丽斯家纺有限公司 |
| 申请人地址 | 福建省龙岩市新罗区南城翠路1号 |
专利法律状态
2021-04-20
授权
状态信息
授权
摘要
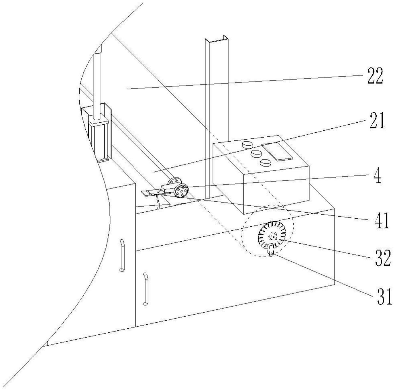
本实用新型提供一种成卷切割机的定长装置,包括成卷切割机的机架及成卷切割机的控制系统,所述机架上平行安装有主动辊、被动辊;还包括:传感装置,连接所述控制系统,安装于所述机架侧边;所述传感装置包括信号发射器、信号接收器、遮挡调节盘;所述信号发射器与所述信号接收器相对安装,所述遮挡调节盘位于所述信号发射器与所述信号接收器之间;所述遮挡调节盘为一圆盘,周边均匀分布有多条供所述信号发射器发送信号通过的调节缝,所述遮挡调节盘安装于所述被动辊的转轴上;滚轮计米器,安装于所述机架上,与所述的主动辊接触,所述滚轮计米器连接所述控制系统;本实用新型可以对产品进行高精度的成卷操作,还可以满足较大长度的成卷。


