授权公布号:CN205599303U
一种竹纤维粉碎机
有效
申请
2016-05-14
申请公布
1970-01-01
授权
2016-09-28
预估到期
2026-05-14
| 申请号 | CN201620432525.7 |
| 申请日 | 2016-05-14 |
| 授权公布号 | CN205599303U |
| 授权公告日 | 2016-09-28 |
| 分类号 | B02C21/00;B02C4/08;B02C4/28;B02C23/16;B02C23/18;B07B1/28 |
| 分类 | 破碎、磨粉或粉碎;谷物碾磨的预处理; |
| 申请人名称 | 上海小绵羊实业有限公司 |
| 申请人地址 | 上海市南翔镇高科技园区惠亚路117号 |
专利法律状态
2018-01-05
专利申请权、专利权的转移
状态信息
专利权的转移;IPC(主分类):B02C21/00;登记生效日:20171219;变更事项:专利权人;变更前:李美春;变更后:上海小绵羊实业有限公司;变更事项:地址;变更前:364200 福建省龙岩市上杭县和平路61号;变更后:201802 上海市南翔镇高科技园区惠亚路117号
2018-01-05
著录事项变更
状态信息
著录事项变更;IPC(主分类):B02C21/00;变更事项:发明人;变更前:李美春;变更后:黄荣平
2016-09-28
授权
状态信息
授权
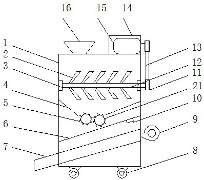
摘要
本实用新型公开了一种竹纤维粉碎机,包括粉碎机本体、搅拌轴、左挤压辊、右挤压辊、控制面板、过滤网、出料槽和电动机,所述粉碎机本体上侧安装有进料斗,且进料斗右侧设置有电动机,所述粉碎机本体内部两侧安装有转轴,且转轴内部安装有搅拌轴,所述搅拌轴上安装有搅拌叶,所述搅拌轴右侧安装有皮带轮,且皮带轮通过皮带和电动机连接,所述搅拌轴下侧设置有导料板,且导料板下侧设置有左挤压辊,所述左挤压辊右侧设置有右挤压辊,所述左挤压辊和右挤压辊下侧设置有过滤网,且过滤网下侧设置有出料槽,所述粉碎机本体下侧安装有万向轮,所述控制面板上安装有启动开关和液晶显示屏。本实用新型通过出料槽右侧安装有热风机,能够实现排料和除湿。


