授权公布号:CN210030962U
一种去除羽绒中金属杂质用的新型吸附装置
有效
申请
2019-05-15
申请公布
1970-01-01
授权
2020-02-07
预估到期
2029-05-15
| 申请号 | CN201920693266.7 |
| 申请日 | 2019-05-15 |
| 授权公布号 | CN210030962U |
| 授权公告日 | 2020-02-07 |
| 分类号 | D01B3/02 |
| 分类 | 天然或人造的线或纤维;纺纱或纺丝; |
| 申请人名称 | 柳桥集团有限公司 |
| 申请人地址 | 浙江省杭州市萧山区新塘街道东康路288号 |
专利法律状态
2020-02-07
授权
状态信息
授权
摘要
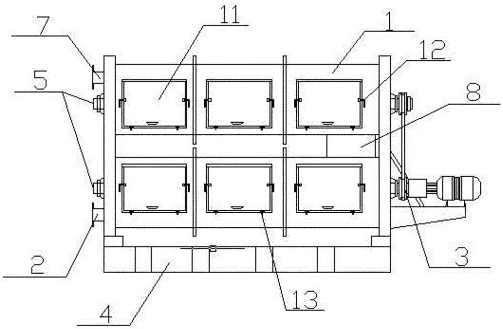
本实用新型公开了一种去除羽绒中金属杂质用的新型吸附装置,包括驱动装置、转轴、至少一个除金属单元和若干磁铁块,驱动装置与转轴相连并控制转轴的转动,转轴穿过除金属单元内部,所述除金属单元、驱动装置、转轴均安装在支架上,支架上设有进料口和出料口,所述除金属单元上设有供羽绒通行的中空通道,多个除金属单元之间可相互连接成单排直线型除金属杂质装置或多排直线型除金属杂质装置,除金属单元上安装有透明门,所述转轴外侧连接有若干与转轴互成夹角的搅拌叶,搅拌叶上安装有若干磁铁块。本实用新型具有羽绒流通顺畅且金属杂质去除效率高,结构简单,可根据羽绒中不同金属杂质含量组装成不同尺寸的除金属杂质单元等优点。


