授权公布号:CN208120843U
一种可以烘干的羽绒回收装置
有效
申请
2018-02-11
申请公布
1970-01-01
授权
2018-11-20
预估到期
2028-02-11
| 申请号 | CN201820246646.1 |
| 申请日 | 2018-02-11 |
| 授权公布号 | CN208120843U |
| 授权公告日 | 2018-11-20 |
| 分类号 | C02F9/02;B01D36/00;B01D29/80;C02F103/30 |
| 分类 | 水、废水、污水或污泥的处理; |
| 申请人名称 | 柳桥集团有限公司 |
| 申请人地址 | 浙江省杭州市萧山区新塘街道东康路288号 |
专利法律状态
2018-11-20
授权
状态信息
授权
摘要
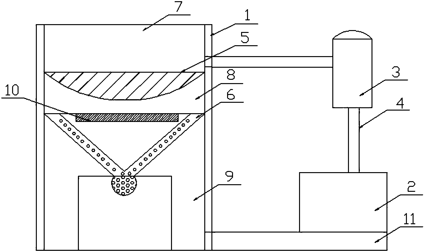
本实用新型公开了一种可以烘干的羽绒回收装置,包括机架、水箱、水泵、循环水管、活性炭吸附层、下料管、水池a、水池b、水池c、烘干装置、出水管,所述机架由水池a、水池b和水池c三个组成,所述水池a设在机架最上端,且右侧连接设有循环水管,所述循环水管连接机架右侧底部设有的水箱,所述水箱和循环水管之间设有水泵,所述水池a下设有水池b,所述水池b内设有活性炭吸附层,所述水池b和水池c连接处设有两根下料管,且所述两根下料管中间夹设有设有烘干装置,位于所述水池b的内壁上端,本实用新型具有结构简单、可以将废水中残留羽绒回收再利用和烘干羽绒的优点,烘干的羽绒在包装和转运时方便,工作效率高。


