授权公布号:CN211596001U
一种具有布料自动推送机构的防起皱平缝机
有效
申请
2019-12-30
申请公布
1970-01-01
授权
2020-09-29
预估到期
2029-12-30
| 申请号 | CN201922426545.X |
| 申请日 | 2019-12-30 |
| 授权公布号 | CN211596001U |
| 授权公告日 | 2020-09-29 |
| 分类号 | D05B39/00 |
| 分类 | 缝纫;绣花;簇绒; |
| 申请人名称 | 江苏蓝丝羽家用纺织品有限公司 |
| 申请人地址 | 江苏省南通市通州区川姜镇川港工业园区精品区 |
专利法律状态
2020-09-29
授权
状态信息
授权
摘要
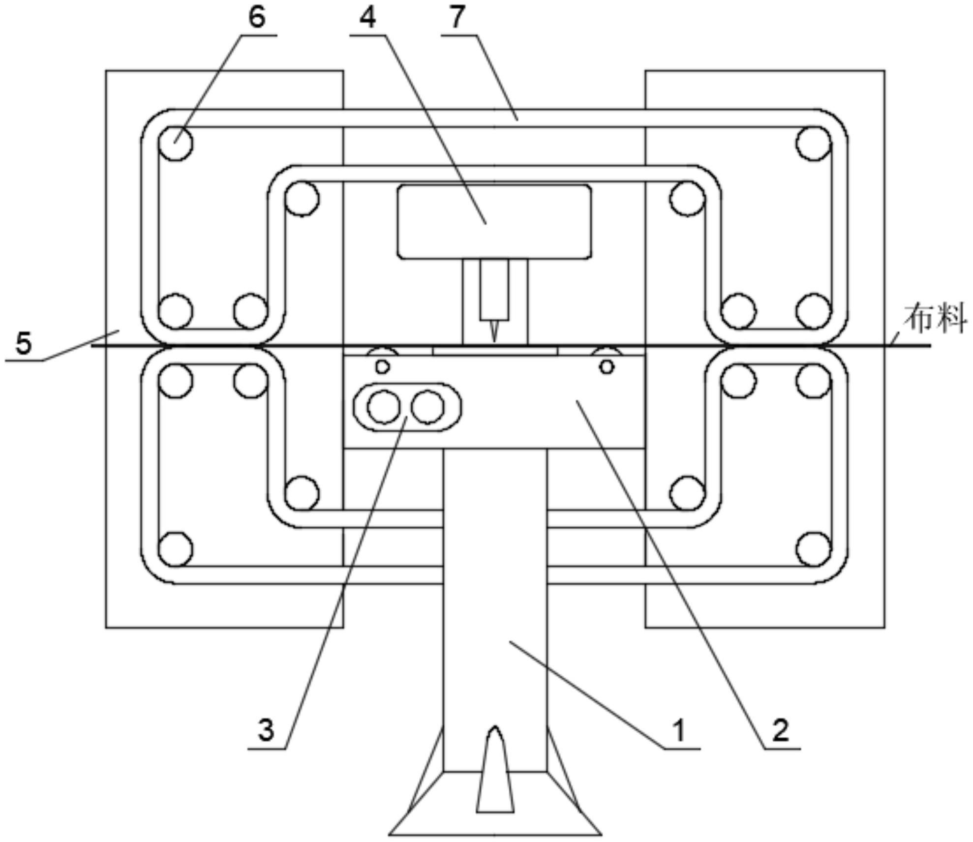
本实用新型公开了一种具有布料自动推送机构的防起皱平缝机,包括支撑腿、工作台和缝纫机构,工作台的顶部安装有缝纫机构,所述工作台的底部前后两侧均安装有支撑腿,所述工作台的两侧均固定连接有安装板,所述安装板的前端面通过轴承套转动连接有多组导轨辊筒,所述导轨辊筒的外部安装有两组传送带。本实用新型中,首先,通过驱动电机带动传送带的匀速转动,由此完成了对布料的均匀输送,从而提升了对布料输送的便捷性性,其次,通过两组U型结构的传送带的两个竖直端末端分别对缝纫台两侧的布料进行进料和出料,从而使得布料在进料和出料的速率相同,从而降低了对布料输送时的张力,从而提升了对布料输送时的防起皱性能。


