授权公布号:CN211299367U
新型儿童乳胶枕头
有效
申请
2019-11-02
申请公布
1970-01-01
授权
2020-08-21
预估到期
2029-11-02
| 申请号 | CN201921874526.7 |
| 申请日 | 2019-11-02 |
| 授权公布号 | CN211299367U |
| 授权公告日 | 2020-08-21 |
| 分类号 | A47G9/10 |
| 分类 | 家具;家庭用的物品或设备;咖啡磨;香料磨;一般吸尘器; |
| 申请人名称 | 江苏爱德福乳胶制品有限公司 |
| 申请人地址 | 江苏省扬州市江都区郭集村工业集中区 |
专利法律状态
2020-08-21
授权
状态信息
授权
摘要
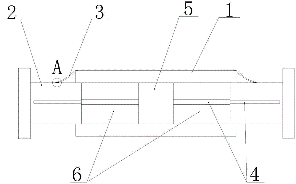
本实用新型公开了一种新型儿童乳胶枕头,包括主枕头和两个侧枕头,主枕头的上部两端固接缓冲布的一端,缓冲布另一端的一侧紧贴有粘扣带,主枕头内的中部设有支撑块,支撑块的两侧设有抽插腔,抽插腔内设有侧枕头,抽插腔内的左右两侧壁和侧枕头相对应的两侧间设置有直线导轨,侧枕头通过导轨抽插进抽插腔内,侧枕头的上部靠近主枕头的一侧贴有粘贴片。本实用新型通过两个侧枕头分别抽插进主枕头两侧的抽插腔内来增长或缩短乳胶枕头的长度,不仅解决了儿童翻身幅度大后容易脱离枕头的问题,而且能够减小乳胶枕头占用的储存空间。


