授权公布号:CN217454136U
一种地毯切边机
有效
申请
2022-05-17
申请公布
1970-01-01
授权
2022-09-20
预估到期
2032-05-17
| 申请号 | CN202221181952.4 |
| 申请日 | 2022-05-17 |
| 授权公布号 | CN217454136U |
| 授权公告日 | 2022-09-20 |
| 分类号 | B26D7/06;B26D1/15 |
| 分类 | 手动切割工具;切割;切断; |
| 申请人名称 | 滨州东方地毯有限公司 |
| 申请人地址 | 山东省滨州市滨城区渤海二十八路497号 |
专利法律状态
2022-09-20
授权
状态信息
授权
摘要
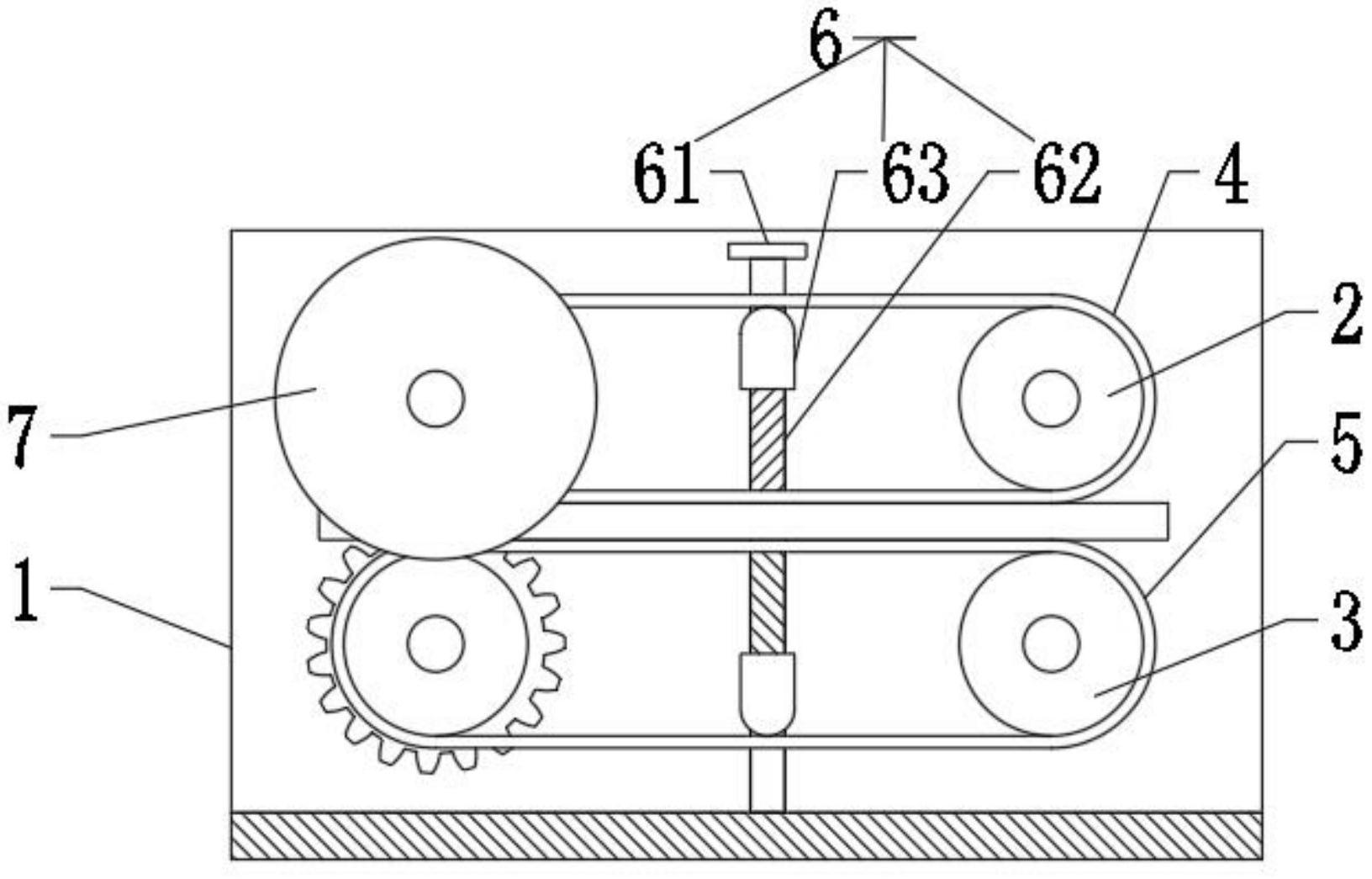
本实用新型适用于地毯切边技术领域,提供了一种地毯切边机,包括:本体,所述本体连接有驱动组件,所述驱动组件活动连接有从动组件,所述驱动组件活动连接有同步带一,所述从动组件活动连接有同步带二;切割刀片,所述切割刀片与所述驱动组件活动连接;驱动组件带动同步带一旋转的同时驱动从动组件,从动组件带动同步带二旋转,同步带一配合同步带二带动地毯直线移动,并且驱动组件驱动切割刀片同步切割地毯,所述调节组件用于调节同步带一和同步带二的松紧程度,保证同步带一和同步带二与地毯之间的摩擦力,具有高效和切割质量好的优点。


