授权公布号:CN217275395U
一种地毯烘干设备
有效
申请
2022-05-13
申请公布
1970-01-01
授权
2022-08-23
预估到期
2032-05-13
| 申请号 | CN202221144695.7 |
| 申请日 | 2022-05-13 |
| 授权公布号 | CN217275395U |
| 授权公告日 | 2022-08-23 |
| 分类号 | F26B13/28;F26B5/14;F26B21/00;F26B25/00 |
| 分类 | 干燥; |
| 申请人名称 | 滨州东方地毯有限公司 |
| 申请人地址 | 山东省滨州市滨城区渤海二十八路497号 |
专利法律状态
2022-08-23
授权
状态信息
授权
摘要
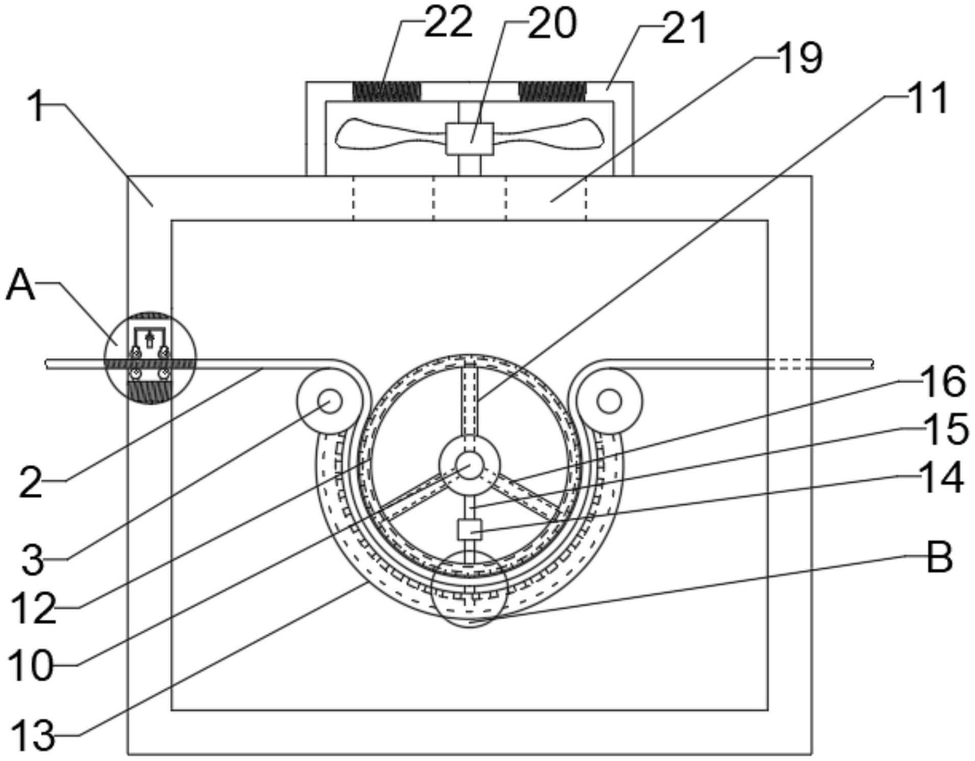
本实用新型适用于地毯生产技术领域,提供了一种地毯烘干设备,包括箱体、滚轮一、挤压组件、烘干组件和通风组件,所述滚轮一设置有一组,对称安装在箱体中,与待烘干的滚轮一接触;所述挤压组件安装在箱体侧面的通道内,用于将毛毯中的水流挤出;所述烘干组件设置在箱体中,并与滚轮一配合,用于烘干毛毯中的水分;所述通风组件安装在箱体的顶端,位于烘干组件的正上方;本烘干设备在使用的过程中,能够有效的在烘干之前对毛毯中的水分挤压干净,并电机带动烘干组件转动的过程中对毛毯进行烘干,而通风组件可以将湿气及时向外排出。


