授权公布号:CN217997573U
一种便于清洁的手工枪刺地毯机器人压布盘
有效
申请
2022-07-20
申请公布
1970-01-01
授权
2022-12-09
预估到期
2032-07-20
| 申请号 | CN202221869194.5 |
| 申请日 | 2022-07-20 |
| 授权公布号 | CN217997573U |
| 授权公告日 | 2022-12-09 |
| 分类号 | D06C3/00;D06G1/00 |
| 分类 | 织物等的处理;洗涤;其他类不包括的柔性材料; |
| 申请人名称 | 圣源地毯集团有限公司 |
| 申请人地址 | 青海省西宁市城南新区同安路111号 |
专利法律状态
2022-12-09
授权
状态信息
授权
摘要
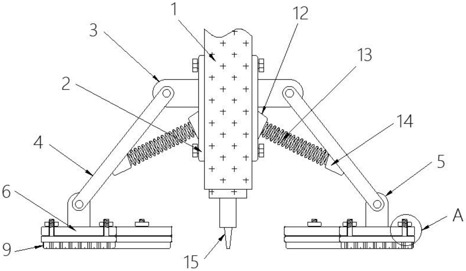
本实用新型公开了一种便于清洁的手工枪刺地毯机器人压布盘,包括:刺枪机器人主体,所述刺枪机器人主体的外端面固定连接有安装板,且安装板的外端面固定连接有第一安装块,所述第一安装块的外端连接有压杆;第一连接板,其固定连接在第二安装块的下端,所述第一连接板的内部开设有衔接孔,所述第二连接板的下端固定连接有刷毛;第一固定块,其固定连接在安装板的外端面并设置在第一安装块的下方,所述第一固定块的外端固定连接有连接弹簧。该便于清洁的手工枪刺地毯机器人压布盘,方便对毯面进行清理,且便于拆卸更换清理组件,同时解决了现有的手工枪刺地毯压布盘对地毯的压平效果较差的问题。


