授权公布号:CN208643141U
一种可控制胶量的机织地毯加工处理装置
有效
申请
2018-07-09
申请公布
1970-01-01
授权
2019-03-26
预估到期
2028-07-09
| 申请号 | CN201821077496.2 |
| 申请日 | 2018-07-09 |
| 授权公布号 | CN208643141U |
| 授权公告日 | 2019-03-26 |
| 分类号 | B05C5/02;B05C11/10 |
| 分类 | 一般喷射或雾化;对表面涂覆液体或其他流体的一般方法〔2〕; |
| 申请人名称 | 圣源地毯集团有限公司 |
| 申请人地址 | 青海省西宁市南川工业园区同安路111号 |
专利法律状态
2019-03-26
授权
状态信息
授权
摘要
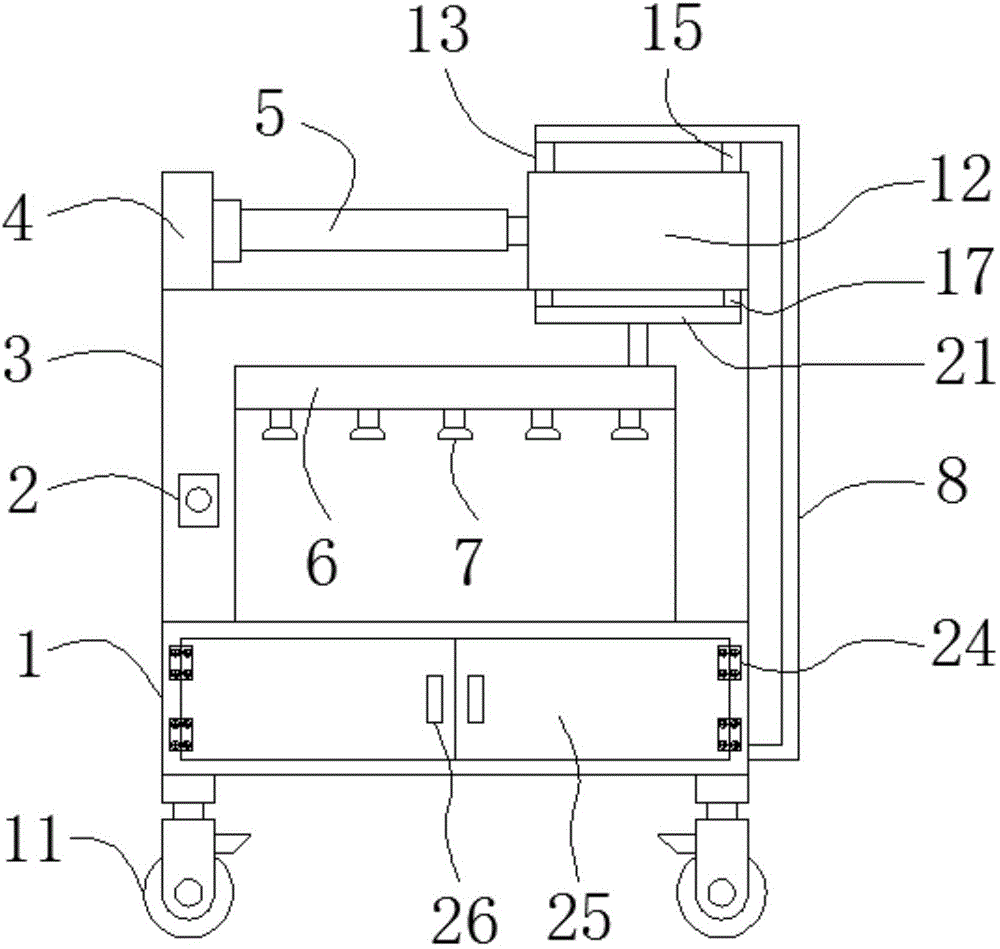
本实用新型公开了一种可控制胶量的机织地毯加工处理装置,包括支撑台,所述支撑台的上部固定安装有龙门架,所述龙门架的上部一侧安装有固定座,所述固定座的侧面上固定安装有水平设置的电动推杆,所述电动推杆的伸缩端与活塞的一侧面中心位置处固定连接,所述活塞活动安装在缸筒的内部,所述缸筒固定安装在龙门架的上部另一侧,且缸筒的两端上部对称连通设有第一连接管和第二连接管。本实用新型,在工作时,喷头会一直喷射胶水,不会产生断胶的现象,避免影响涂胶质量,可通过调速开关可控制电动推杆的伸缩端的伸缩速度,进而控制活塞在缸筒的内部的运动速度,最终调节喷头的喷胶量,以保证羊毛地毯的涂胶效果。


